Дизель ЗМЗ-514
- Содержание:
- Характеристики двигателя ЗМЗ-51432.10
- Конструкция двигателя
- Модификации дизельного двигателя ЗМЗ 514
- Проблемы двигателя
- Топливная система ЗМЗ 514.10 и 5143.10
- Конструкция двигателя ЗМЗ-514
- Кривошипно-шатунный механизм
- Газораспределительный механизм
- Система смазки
- Система вентиляции картера
- Система охлаждения
- Система впуска воздуха и выпуска отработавших газов
- Система рециркуляции отработавших газов (СРОГ)
- Система Управления Двигателем
- ЗМЗ 514 поломки и проблемы двигателя - видео
- Дизель ЗМЗ 514 - видео
Двигатель ЗМЗ-514 и его модификации предназначены для установки на легковые и грузопассажирские автомобили УАЗ Patriot, Hunter, Pickup и Cargo. Использована система топливоподачи Common Rail фирмы «BOSCH», охлаждаемая система рециркуляции отработавших газов с дроссельным патрубком, который также используется для мягкого глушения двигателя. Для привода ТНВД, водяного насоса и генератора используется поликлиновой ремень с механизмом автоматического натяжения.Дизельный двигатель ЗМЗ 51432.10 евро 4.Характеристики двигателя ЗМЗ-51432.10
| Параметр | Значение |
|---|---|
| Конфигурация | L |
| Число цилиндров | 4 |
| Объем, л | 2,235 |
| Диаметр цилиндра, мм | 87 |
| Ход поршня, мм | 94 |
| Степень сжатия | 19 |
| Число клапанов на цилиндр | 4 (2-впуск; 2-выпуск) |
| Газораспределительный механизм | DOHC |
| Порядок работы цилиндров | 1-3-4-2 |
| Номинальная мощность двигателя / при частоте вращения коленчатого вала | 83,5 кВт - (113,5 л.с.) / 3500 об/мин |
| Максимальный крутящий момент / при частоте вращения коленчатого вала | 270 Н/м / 1300-2800 об/мин |
| Система питания | с непосредственным впрыском, турбонаддувом и охлаждением надувочного воздуха |
| Экологические нормы | Евро 4 |
| Вес, кг | 220 |
Конструкция двигателя
Четырехтактный двигатель с электронно-управляемой системой подачи топлива Common Rail, с рядным расположением цилиндров и поршнями, вращающими один общий коленчатый вал, с верхним расположением двух распределительных валов. Двигатель имеет жидкостную систему охлаждения закрытого типа с принудительной циркуляцией. Система смазки комбинированная: под давлением и разбрызгиванием. Блок цилиндров Блок цилиндров ЗМЗ-514 изготовлен из специального чугуна моноблоком с картерной частью, опущенной ниже оси коленчатого вала.| Параметр | Значение |
|---|---|
| Диаметр цилиндра, мм | 87,0 |
| Межцилиндровое расстояние (расстояние между осями соседних цилиндров блока), мм | 106,0 |
| Диаметр расточки опор коленчатого вала (под коренные вкладыши), мм | 67,0 |
| Параметр | Значение |
|---|---|
| Диаметр коренных шеек, мм | 62,00 |
| Диаметр шатунных шеек, мм | 56,00 |
Модификации дизельного двигателя ЗМЗ 514

ЗМЗ 5143
ЗМЗ 514.10 евро 2 с механическим ТНВД Bosch VE. Без интеркулера и ваккумным насосом на генераторе. Ставили на УАЗ Хантер и Патриот. Мощность 98 л.с.

ЗМЗ 51432 евро 3
ЗМЗ 5143.10 евро 3 так же с механическим ТНВД Bosch VE. Так же без интеркулера. Установлен теплообменник для охлаждения отработавших газов системы рециркуляции. Вакуумный насос сначала устанавливали на блоке цилиндров с приводом от масляного насоса, позднее на головке блока цилиндров с приводом от цепи грм. Мощность так же 98 л.с.

ЗМЗ 51432.10 евро 4
ЗМЗ 51432.10 евро 4. Главное отличие от предыдущих модификации это система питания Common Rail. Мощность возросла до 114 л.с., а крутящий момент до 270. Ставили только на Патриоты.
Проблемы двигателя
Ранние версии двигателя ЗМЗ-514 страдали заводскими просчетами, которые "вылезали" в процессе эксплуатации. Форумчане собрали и классифицировали отказы дизельного двигателя ЗМЗ-514: 1. Трещина ГБЦ. Отмечалась на двигателях до 2008 года выпуска. Признаки: уход ОЖ в картер двигателя, прорыв газов, эмульсия на масломерном щупе. Причина дефект литья, завоздушивание системы охлаждения, нарушение технологии протяжки. На ГБЦ с 2008 года устанавливаемых на конвеере дефект не отмечался. Ремонт: замена ГБЦ на современную отливку. Профилактика для ГБЦ из "зоны риска": 1)изменение компенсации ОЖ на систему с клапанами в пробке расширительного бачка с подъемом его выше уровня радиатора. 2)Выбор режимов работы двигателя без длителных нагрузок свыше 3000 об/мин. (Если кому это покажется малым, то к примеру на резине 245/75 на 5 передаче даймоса при скорости 110км/ч, обороты 2900). 3) Проверка протяжки ГБЦ на моторах 7-8 годов выпуска. ссылки: тайное письмо с ЗМЗ на СТО Расширительный бачек, переделка 2. Перескок/обрыв цепи привода ГРМ. Возможен на всех моторах. Признаки: Резкая остановка двигателя. Двигатель не запускается. Рассогласование меток ГРМ. Причина: устаревшая конструкция гидронатяжителя не обеспечивающая надежность. Некачественная деталь стороннего производителя. Ремонт: Замена сломанных рычагов привода клапанов. Корректировка меток ГРМ. В случае обрыва цепи, дефектовка и замены вышедших из строя деталей привода. Профилактика: 1) контроль состояния натяжения цепи через маслозаливную горловину. 2) замена гидронатяжителей на конструкцию обеспечивающую надежность. Ссылки: о гидронатяжителях замена гидронатяжителей На моторах ЕВРО4: конструкция не изменилась. 3. Выход из строя привода маслонасоса. Характерен на двигателях евро3 с вакуумным насосом на блоке двигателя. С конца 10 года не отмечалось. Признаки: падение давления масла до 0. Причина: не качественный матерьял шестерней. Повышение нагрузки на привод из-за подклинивания вакуумного насоса. Ремонт: замена шестерней привода маслонасоса с ревизией маслонасоса и вакуумного насоса. В случае эксплуатации двигателя без давления масла, детальная дефектовка и при необходимости более сложный ремонт. Профилактика: контроль за давлением масла. Проверка подводящего масленного шланга к вакуумному насосу на отсутствие перегибов. Проверка вакуумного насоса на подклинивание. При необходимости устранение найденных дефектов. На моторах ЕВРО4: вакуумный насос измененной конструкции расположен на передней крышке ГБЦ. Привод вакуумного насоса напрямую от верхней цепи. Конструктивно дополнительной нагрузки на привод маслонасоса нет. 4. Попадание тарелки клапана СРОГ в цилиндр двигателя. Признаки: Дымление черным дымом, удар/удары в районе двигателя, троение, незапуск. Причина: не качественная деталь стороннего производителя, отгорание тарелки клапана СРОГ от штока, проход тарелки по впускной трубе в цилиндр двигателя. Ремонт: Замена вышедших из строя деталей, в зависимости от степени повреждения: поршень, клапана, ГБЦ. Профилактика: Отключение клапана СРОГ с глушением системы. На моторах ЕВРО4: клапан срог производства германия с электронным контролем положения с установленным ресурсом до замены 80000 км пробега. 5. Откручивание заглушки КВ. Признаки: снижение давления масла, в зависимости от ситуации пробой блока. Причина: не законтрены или не качественно законтрены заглушки КВ. Ремонт: установка и контровка заглушек, в зависимости от последствий, ремонт или замена блока двигателя. Профилактика: Контрлоль за давлением масла. Снятие поддона двигателя с контролем состояния заглушек, при необходимости протяжка и контровка кернением. На моторах ЕВРО4: О изменении контроля качества работ на конвеере в лучшую сторону неизвестно. 6.1 Перескок ремня привода ТНВД. Принаки: снижение тяги дымление, вплоть до глушения и незапуска. Причина: попадание грязи на шкив КВ, ослабление натяжения ремня. Ремонт: выставление ремня по меткам. Профилактика: соблюдение регламента контроля натяжения ремня и требований к замене. На мотрах ЕВРО4: привод ТНВД поликлиновым ремнем с автоматическим натяжителем. 6.2 Боковой износ ремня привода ТНВД, обрыв ремня при предельном износе. Отмечено на моторах евро2. Признаки: Стремление к сползанию ремня со шкива ТНВД, износ боковины натяжным роликом, задевание ремня за кожух. В случае обрыва, самопроизвольное глушение двигателя. Причина: наклон ролика из-за ненадежной конструкции и выработка на оси крепления ролика. Ремонт: замена ремня и натяжного ролика, разворот оси ролика. Замена ролика на исправленную конструкцию. Профилактика: при регламенте замена ролика на исправленную конструкцию. На моторах ЕВРО3: натяжной ролик измененной конструкции с эксцентриковым натяжением. На моторах ЕВРО4: поликлиновый ремень привода с автоматическим натяжителем. 7. Обрыв трубопровода высокого давления от ТНВД к форсунке. Отмечался на двигателях ЕВРО2 2006-частично 2007 гв. Наиболее часто на 4 цилиндре. Признак: внезапное троение двигателя, запах дизтоплива. Причина: неправильный выбор углов загиба трубок при проектировании не обеспечивающих компенсации нагрузок. Неправильный монтаж в натяг. Решение: замена трубок на нового образца выпускаемых с 2007 года. Профилактика для старых трубок (не помешает и новым): при снятии установке трубок не допускать затягивание в натяг. Сначала прижимаем трубку к седлу форсунки, затем накручиваем гайку и протягиваем. Не допускать касания трубопроводов друг об друга. Правильно выбирать центральное положение ТНВД перед монтажем и регулировкой впрыска.Топливная система ЗМЗ 514.10 и 5143.10
Топливо из правого топливного бака 12 через фильтр грубой очистки топлива 11 подается топливным электронасосом 10 под давлением к фильтру тонкой очистки топлива 8 (ФТОТ). При давлении подаваемого электронасосом топлива больше 60-80 КПа (0,6-0,8 кгс/см2) перепускной клапан 17 открывается, отводя избыточное топливо в линию слива 16. Очищенное топливо от ФТОТ поступает в топливный насос высокого давления (ТНВД) 5. Далее топливо подается с помощью плунжера-распределителя ТНВД в соответствии с порядком работы цилиндров по топливопроводам высокого давления 3 к форсункам 2, с помощью которых осуществляется впрыскивание топлива в камеру сгорания дизеля. Избыточное топливо, а также попавший в систему воздух отводятся от форсунок, ТНВД и перепускного клапана по топливопроводам слива топлива в баки.
Схема системы питания дизельного двигателя ЗМЗ- 514.10 и 5143.10 на автомобилях УАЗ с электрическим топливным насосом: 1 – двигатель; 2 – форсунки; 3 – топливопроводы высокого давления двигателя; 4 – шланг отвода отсечного топлива от форсунок к ТНВД; 5 – ТНВД; 6 – шланг подвода топлива от ФТОТ к ТНВД; 7 – шланг слива топлива от ТНВД к штуцеру ФТОТ; 8 – ФТОТ; 9 – топливопровод забора топлива от баков; 10 – топливный электронасос; 11 – фильтр грубой очистки топлива; 12 – правый топливный бак; 13 – левый топливный бак; 14 – клапан топливного бака; 15 – струйный насос; 16 – топливопровод слива топлива в баки; 17 – перепускной клапан.
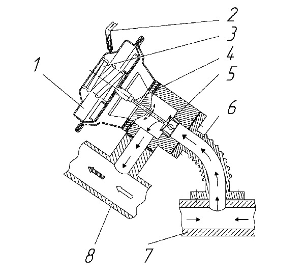
Топливный насос высокого давления (ТНВД) ЗМЗ- 514.10 и 5143.10 распределительного типа со встроенным топливоподкачивающим насосом, корректором по наддуву и электромагнитным клапаном останова топливоподачи. ТНВД оснащен двухрежимным механическим регулятором частоты вращения коленчатого вала. Основной функцией насоса является дозированная по нагрузке на двигатель подача топлива в цилиндры двигателя под высоким давлением в определенный момент времени в зависимости от частоты вращения коленчатого вала.
Топливный насос высокого давления BOSCH типа VE: 1 – электромагнитный клапан остановки двигателя; 2 - винт регулировки максимальных оборотов холостого хода; 3 – регулировочный винт максимальной подачи топлива (опломбирован и при эксплуатации не регулируется); 4 – штуцер корректора по наддуву воздуха; 5 – корректор по наддуву воздуха; 6 – винт регулировки минимальных оборотов холостого хода; 7 – штуцера топливопроводов высокого давления; 8 – кронштейн крепления ТНВД; 9 – фланец крепления ТНВД; 10 – отверстие корпуса ТНВД для установки штифта-центратора; 11 – паз ступицы под штифт-центратор ТНВД; 12 – ступица шкива ТНВД; 13 – штуцер подвода топлива; 14 – рычаг подачи топлива; 15 – датчик положения рычага подачи топлива; 16 – разъем датчика; 17 – штуцер подвода отсечного топлива от форсунок; 18 – штуцер отвода топлива в линию слива; 19 – гайка крепления ступицы на валу ТНВД
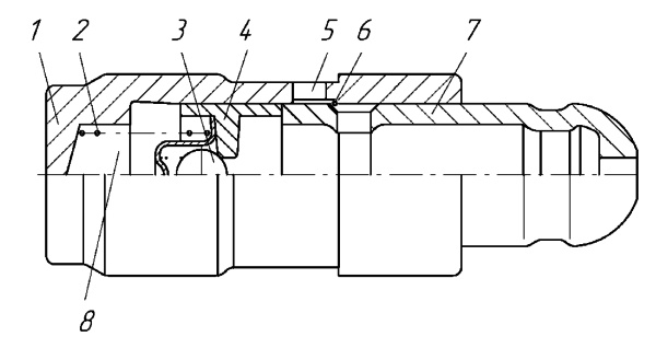
Форсунка закрытая, с двухстадийной подачей топлива. Давление впрыска:
- первая стадия (ступень) – 19,7 МПа (197 кгс/см 2 )
- вторая стадия (ступень) – 30,9 МПа (309 кгс/см 2 )
Фильтр тонкой очистки топлива (ФТОТ) имеет важное значение для нормальной и безаварийной работы ТНВД и форсунок. Поскольку плунжер, втулка, нагнетательный клапан и элементы форсунок являются деталями прецизионными, топливный фильтр должен задерживать мельчайшие абразивные частицы размером 3…5 мкм. Важной функцией фильтра является также задержание и отделение воды, содержащейся в топливе. Попадание влаги во внутреннее пространство ТНВД может привести к выводу последнего из строя по причине образования коррозии и износа плунжерной пары. Задержанная фильтром вода собирается в отстойнике фильтра, откуда должна периодически удаляться через сливную пробку. Слив отстоя из ФТОТ производить через каждые 5 000 км пробега автомобиля.
Перепускной клапан шарикового типа ввернут в штуцер, который установлен на фильтре тонкой очистки топлива. Перепускной клапан предназначен для перепуска избыточного топлива, подаваемого топливным электронасосом в линию слива топлива в баки.
Конструкция двигателя ЗМЗ-514
Левая сторона двигателя: 1 – патрубок водяного насоса подвода ОЖ от радиатора; 2 – водяной насос; 3 – насос гидроусилителя рулевого управления (ГУР); 4 – датчик температуры охлаждающей жидкости (системы управления); 5 – датчик указателя температуры ОЖ; 6 – корпус термостата; 7 – датчик сигнализатора аварийного давления масла; 8 – крышка маслозаливной горловины; 9 – передний кронштейн подъема двигателя; 10 – рукоятка указателя уровня масла; 11 – шланг вентиляции; 12 – клапан рециркуляции; 13 – выпускной патрубок турбокомпрессора; 14 – выпускной коллектор; 15 – теплоизоляционный экран; 16 – турбокомпрессор; 17 – трубка отопителя; 18 – картер сцепления; 19 – заглушка отверстия под установочный штифт коленчатого вала; 20 – пробка сливного отверстия масляного картера; 21 – шланг слива масла из турбокомпрессора; 22 – трубка нагнетательная масла к турбокомпрессору; 23 – краник слива ОЖ; 24 – впускной патрубок турбокомпрессора.
Вид спереди: 1 – шкив-демпфер коленчатого вала; 2 – датчик положения коленчатого вала; 3 – генератор; 4 – верхний кожух ремня привода ТНВД; 5 –ТНВД; 6 – воздуховод; 7 – крышка маслозаливной горловины; 8 – маслоотделитель; 9 – шланг вентиляции; 10 – ремень привода вентилятора и насоса ГУР; 11 – шкив вентилятора; 12 – натяжной болт насоса ГУР; 13 – шкив насоса ГУР; 14 – натяжной кронштейн ремня привода вентилятора и насоса ГУР; 15 – кронштейн насоса ГУР; 16 – направляющий ролик; 17 – шкив водяного насоса; 18 – ремень привода генератора и водяного насоса; 19 – указатель верхней мертвой точки (ВМТ); 20 – метка ВМТ на роторе датчика; 21 – нижний кожух ремня привода ТНВД.
Правая сторона двигателя: 1 – стартер; 2 – фильтр тонкой очистки топлива (ФТОТ) (транспортное положение); 3 – тяговое реле стартера; 4 – крышка привода масляного насоса; 5 – задний кронштейн подъема двигателя; 6 – ресивер; 7 – топливопроводы высокого давления; 8 – топливный насос высокого давления (ТНВД); 9 – задняя опора ТНВД; 10 – точка крепления «–» провода КМСУД; 11 - шланг подвода ОЖ к жидкостно-масляному теплообменнику; 12 – штуцер вакуумного насоса; 13 – генератор; 14 – вакуумный насос; 15 – крышка нижнего гидронатяжителя; 16 – датчик положения коленчатого вала; 17 – шланг подвода масла к вакуумному насосу; 18 – датчик указателя давления масла; 19 – масляный фильтр; 20 – патрубок жидкостно-масляного теплообменника отвода ОЖ; 21 – шланг слива масла из вакуумного насоса; 22 – масляный картер; 23 – усилитель картера сцепления.
Поперечный разрез двигателя: 1 – ресивер; 2 – головка цилиндров; 3 – гидроопора; 4 – распределительный вал впускных клапа- нов; 5 – рычаг привода клапана; 6 – впускной клапан; 7 – распределительный вал выпускных кла- панов; 8 – выпускной клапан; 9 – поршень; 10 – выпускной коллектор; 11 – поршневой палец; 12 – сливной краник ОЖ; 13 – шатун; 14 – коленчатый вал; 15 – указатель уровня масла; 16 – мас- ляный насос; 17 – валик привода масляного и вакуумного насосов; 18 – форсунка охлаждения поршня; 19 – блок цилиндров; 20 – перепускной патрубок трубки отопителя; 21 – отводящий пат- рубок трубки отопителя; 22 – впускная труба.
Кривошипно-шатунный механизм
Блок цилиндров изготовлен из специального чугуна моноблоком с картерной частью, опущенной ниже оси коленчатого вала. Между цилиндрами имеются протоки для охлаждающей жидкости. В нижней части блока расположены пять опор коренных подшипников. Крышки подшипников обрабатываются в сборе с блоком цилиндров и, следовательно, не взаимозаменяемы. В картерной части блока цилиндров устанавливаются форсунки для охлаждения поршней маслом. Головка цилиндров отлита из алюминиевого сплава. В верхней части головки цилиндров располагается газораспределительный механизм: распределительные валы, рычаги привода клапанов, гидроопоры, впускные и выпускные клапаны. Головка цилиндров имеет два впускных канала и два выпускных, фланцы для присоединения впускной трубы, выпускного коллектора, термостата, крышек, посадочные места под форсунки и свечи накаливания, встроенные элементы систем охлаждения и смазки. Поршень отлит из специального алюминиевого сплава, с камерой сгорания, выполненной в головке поршня. Объем камеры сгорания (21,69 ± 0,4) см3. Юбка поршня бочкообразной формы в продольном направлении и овальная в поперечном сечении, имеет антифрикционное покрытие. Большая ось овала расположена в плоскости, перпендикулярной оси поршневого пальца. Наибольший диаметр юбки поршня в продольном сечении расположен на расстоянии 13 мм от нижней кромки поршня. Внизу юбки выполнена выемка, которая обеспечивает расхождение поршня с форсункой охлаждения. Поршневые кольца устанавливаются по три на каждом поршне: два компрессионных и одно маслосъемное. Верхнее компрессионное кольцо изготовлено из высокопрочного чугуна и имеет равностороннюю трапецевидную форму и износостойкое антифрикционное покрытие поверхности, обращенной к зеркалу цилиндра. Нижнее компрессионное кольцо изготовлено из серого чугуна, прямоугольного профиля, с минутной фаской, с износостойким антифрикционным покрытием поверхности, обращенной к зеркалу цилиндра. Маслосъемное кольцо изготовлено из серого чугуна, коробчатого типа, с пружинным расширителем, с износостойким антифрикционным покрытием рабочих поясков поверхности, обращенной к зеркалу цилиндра. Шатун - стальной кованный. Крышка шатуна обрабатывается в сборе с шатуном, и поэтому при переборке двигателя нельзя переставлять крышки с одного шатуна на другой. Крышка шатуна крепится болтами, которые ввертываются в шатун. В поршневую головку шатуна запрессована сталебронзовая втулка. Коленчатый вал - стальной кованный, пятиопорный, имеет для лучшей разгрузки опор восемь противовесов. Износостойкость шеек обеспечивается закалкой ТВЧ или газовым азотированием. Резьбовые пробки, закрывающие полости каналов в шатунных шейках, ставятся на герметик и зачеканиваются от самовывинчивания. Вал динамически сбалансирован, допустимый дисбаланс на каждом конце вала не более 18 г·см. Вкладыши коренных подшипников коленчатого вала - сталеалюминиевые. Верхние вкладыши с канавками и отверстиями, нижние - без канавок и отверстий. Вкладыши шатунных подшипников сталебронзовые, без канавок и отверстий. Шкив-демпфер состоит из двух шкивов: зубчатого 2 – для привода ТНВД и поликлинового 3 – для привода водяного насоса и генератора, а также ротора 4 датчика положения коленчатого вала и диска демпфера 5. Демпфер служит для гашения крутильных колебаний коленчатого вала, благодаря чему обеспечивается равномерность работы ТНВД, улучшаются условия работы цепного привода распределительных валов и уменьшается шум ГРМ. Диск демпфера 5 привулконизирован к шкиву 2. На поверхности ротора датчика имеется круглая метка для определения ВМТ первого цилиндра. Работа датчика положения коленчатого вала заключается в формировании и передаче электронному блоку управления импульсов от расположенных на наружной поверхности ротора пазов. Передний конец коленчатого вала уплотнен резиновой манжетой 7, запрессованной в крышку цепи 6.
Передний конец коленчатого вала: 1 – стяжной болт; 2 – зубчатый шкив коленчатого вала; 3 – поликлиновой шкив коленчатого вала; 4 – ротор датчика; 5 – диск демпфера; 6 – крышка цепи; 7 – манжета; 8 – звездочка; 9 – блок цилиндров; 10 – верхний коренной вкладыш; 11 – коленчатый вал; 12 – нижний коренной вкладыш; 13 – крышка коренного подшипника; 14 – шпонка сегментная; 15 – кольцо резиновое уплотнительное; 16 – втулка; 17 – установочный штифт ротора датчика; 18 – шпонка призматическая.
Газораспределительный механизм
Распределительные валы изготовлены из низкоуглеродистой легированной стали, цементированы на глубину 1,3...1,8 мм и закалены до твердости рабочих поверхностей 59…65 HRCЭ. Двигатель имеет два распределительных вала: для привода впускных и выпускных клапанов. Кулачки валов разнопрофильные, несимметричные относительно оси кулачка. На задних торцах распределительные валы имеют маркировки клеймением: впускной – «ВП», выпускной – «ВЫП». Каждый вал имеет пять опорных шеек. Валы вращаются в опорах, расположенных в алюминиевой головке цилиндров и закрытых крышками, расточенными 22 совместно с головкой. По этой причине крышки опор распределительных валов не взаимозаменяемы. От осевых перемещений каждый распределительный вал удерживается упорной полушайбой, которая установлена в выточку крышки передней опоры и выступающей частью входит в проточку на первой опорной шейке распределительного вала. На переднем конце распределительных валов имеется конусная поверхность под приводную звездочку. Для точной установки фаз газораспределения в первой шейке каждого распределительного вала выполнено технологическое отверстие с точно заданным угловым расположением относительно профиля кулачков. При сборке привода распределительных валов их точное положение обеспечивается фиксаторами, которые устанавливаются через отверстия в передней крышке в технологические отверстия на первых шейках распределительных валов. Технологические отверстия также используется для контроля углового расположения кулачков (фаз газораспределения) в процессе эксплуатации двигателя. На первой переходной шейке распределительного вала имеются две лыски с размером под ключ для удержания распределительного вала при креплении звездочки. Привод распределительных валов цепной, двухступенчатый. Первая ступень – от коленчатого вала на промежуточный вал, вторая ступень – от промежуточного вала на распределительные валы. Привод обеспечивает частоту вращения распределительных валов в два раза меньше частоты вращения коленчатого вала. Приводная цепь первой ступени (нижняя) имеет 72 звена, второй ступени (верхняя) – 82 звена. Цепь втулочная, двухрядная с шагом 9,525 мм. На переднем конце коленчатого вала на шпонке установлена звездочка 1 из высокопрочного чугуна с 23 зубьями. На промежуточном валу одновременно закреплены двумя болтами ведомая звездочка 5 первой ступени также из высокопрочного чугуна с 38 зубьями и ведущая стальная звездочка 6 второй ступени с 19 зубьями. На распределительных валах установлены звездочки 9 и 12 из высокопрочного чугуна с 23 зубьями.
Привод распределительных валов: 1 – звездочка коленчатого вала; 2 – нижняя цепь; 3,8 – рычаг натяжного устройства со звездочкой; 4,7 – гидронатяжитель; 5 – ведомая звездочка промежуточного вала; 6 – ведущая звездочка промежуточного вала; 9 – звездочка впускного распределительного вала; 10 – технологическое отверстие под установочный штифт; 11 – верхняя цепь; 12 – звездочка выпускного распределительного вала; 13 – успокоитель цепи средний; 14 – успокоитель цепи нижний; 15 – отверстие под установочный штифт коленчатого вала; 16 – указатель ВМТ (штифт) на крышке цепи; 17 – метка на роторе датчика положения коленчатого вала
Звездочка на распределительном валу устанавливается на конусный хвостовик вала через разрезную втулку и крепится стяжным болтом. Разрезная втулка имеет внутреннюю коническую поверхность, контактирующую с коническим хвостовиком распределительного вала и наружную – цилиндрическую, контактирующую с отверстием звездочки.
Натяжение каждой цепи (нижней 2 и верхней 11) производится гидронатяжителями 4 и 7 автоматически. Гидронатяжители установлены в направляющих отверстиях: нижний – в крышке цепи, верхний – в головке цилиндров и закрыты крышками.
Корпус гидронатяжителя упирается в крышку, а плунжер через рычаг 3 или 8 натяжного устройства со звездочкой натягивает нерабочую ветвь цепи. В крышке имеется отверстие с конической резьбой, закрытое пробкой, через которое гидронатяжитель при нажатии на корпус приводится в рабочее состояние. Рычаги натяжного устройства установлены на консольных осях, ввернутых: нижняя – в передний торец блока цилиндров, верхняя – в опору, закрепленную на переднем торце блока цилиндров. Рабочие ветви цепей проходят через успокоители 13 и 14, изготовленные из специальной пластмассы и закрепленные двумя болтами каждый: нижний – на переднем торце блока цилиндров, средний – на переднем торце головки цилиндров.
Гидронатяжитель состоит из корпуса 4 и плунжера 3, подобранных на заводе-изготовителе.
Гидронатяжитель:
1 – корпус клапана в сборе; 2 – запорное кольцо; 3 – плунжер; 4 – корпус; 5 – пружина; 6 – стопорное кольцо; 7 – транспортный стопор; 8 – отверстие для подвода масла из системы смазки
Привод клапанов. Клапаны приводятся от распределительных валов через одноплечий рычаг 3. Одним концом, имеющим внутреннюю сферическую поверхность, рычаг опирается на сферический торец плунжера гидроопоры 1. Другим концом, имеющим криволинейную поверхность, рычаг опирается на торец стержня клапана.
Привод клапанов: 1 – гидроопора; 2 – пружина клапана; 3 – рычаг привода клапана; 4 – распределительный вал впускных клапанов; 5 – крышка распределительных валов; 6 – распределительный вал выпускных клапанов; 7 – сухарь клапана; 8 – тарелка пружины клапана; 9 – маслоотражательный колпачок; 10 – опорная шайба пружины клапана; 11 – седло выпускного клапана; 12 – выпускной клапан; 13 – направляющая втулка выпускного клапана; 14 – направляющая втулка впускного клапана; 15 – впускной клапан; 16 – седло впускного клапана.
Рычаг привода клапана: 1 – рычаг привода клапана; 2 – скоба рычага привода клапана; 3 – подшипник игольчатый; 4 – ось ролика рычага клапана; 5 – стопорное кольцо; 6 – ролик рычага клапана.
Ролик 6 рычага привода клапана беззазорно контактирует с кулачком распределительного вала. Для уменьшения трения в приводе клапанов ролик установлен на оси 4 на игольчатом подшипнике 3. Рычаг передает перемещения, задаваемые кулачком распределительного вала, клапану. Применение гидроопоры исключает необходимость регулировать зазор между рычагом и клапаном. При установке на двигатель рычаг подсобирается с гидроопорой с помощью скобы 2 охватывающей шейку плунжера гидроопоры.
Гидроопора стальная, ее корпус 1 выполнен в виде цилиндрического стакана, внутри которого размещен поршень 4, с обратным шариковым клапаном 3 и плунжер 7, который удерживается в корпусе стопорным кольцом 6. На наружной поверхности корпуса выполнены канавка и отверстие 5 для подвода масла внутрь опоры из магистрали в головке цилиндров. Гидроопоры устанавливаются в расточенные в головке цилиндров отверстия.
Гидроопора: 1 – корпус; 2 – пружина; 3 – обратный клапан; 4 – поршень; 5 – отверстие для подвода масла; 6 –стопорное кольцо; 7 – плунжер; 8 – полость между корпусом и поршнем
Гидроопоры автоматически обеспечивают беззазорный контакт кулачков распределительных валов с роликами рычагов и клапанами, компенсируя износы сопрягаемых деталей: кулачков, роликов, сферических поверхностей плунжеров и рычагов, клапанов, фасок седел и тарелок клапанов.
Клапаны впускной 15 и выпускной 12 изготовлены из жаропрочной стали, выпускной клапан имеет жароупорную износостойкую наплавку рабочей поверхности тарелки и наплавку из углеродистой стали на торце стержня, закаленную для повышения износостойкости. Диаметры стержней впускного и выпускного клапанов 6 мм. Тарелка впускного клапана имеет диаметр 30 мм, выпускного – 27 мм. Угол рабочей фаски у впускного клапана 60°, у выпускного 45°30'. На конце стержня клапана выполнены выточки для сухарей 7 тарелки 8 пружины клапана.
Сухари и тарелка пружины клапана изготовлены из малоуглеродистой легированной стали и подвергнуты углеродоазотированию для повышения износосойкости.
Промежуточный вал 6 предназначен для передачи вращения от коленчатого вала распределительным валам через промежуточные звездочки, нижнюю и верхнюю цепи. Кроме этого, он служит для привода масляного насоса.
Промежуточный вал: 1 – болт; 2 – стопорная пластина; 3 – ведущая звездочка; 4 – ведомая звездочка; 5 – передняя втулка вала; 6 – промежуточный вал; 7 – труба промежуточного вала; 8 – валик-шестерня; 9 – гайка; 10 – шестерня привода масляного насоса; 11 – задняя втулка вала; 12 – блок цилиндров; 13 – фланец промежуточного вала; 14 – штифт.
Система смазки
Система смазки комбинированная, многофункциональная: под давлением и разбрызгиванием. Используется для охлаждения поршней и подшипников турбокомпрессора, масло под давлением приводит в рабочее состояние гидроопоры и гидронатяжители.
Схема системы смазки: 1 – форсунка охлаждения поршня; 2 – главная масляная магистраль; 3 – теплообменник жидкостно-масляный; 4 – масляный фильтр; 5 – калиброванное отверстие подачи масла на шестерни привода масляного насоса; 6 – шланг подвода масла к вакуумному насосу; 7 – шланг слива масла из вакуумного насоса; 8 – подвод масла к верхнему подшипнику валика привода масляного насоса; 9 – вакуумный насос; 10 – подача масла к втулкам промежуточного вала; 11 – подвод масла к гидроопоре; 12 – верхний гидронатяжитель цепи; 13 – крышка маслозаливной горловины; 14 – рукоятка указателя уровня масла; 15 – подвод масла к опорной шейке распределительного вала; 16 – датчик сигнализатора аварийного давления масла; 17 – турбокомпрессор; 18 – нагнетательная трубка масла в турбокомпрессор; 19 – шатунный подшипник; 20 – шланг слива масла из турбокомпрессора; 21 – коренной подшипник; 22 – указатель уровня масла; 23 – метка «П» верхнего уровня масла; 24 – метка «0» нижнего уровня масла; 25 – пробка слива масла; 26 – маслоприемник с сеткой; 27 – масляный насос; 28 – масляный картер; 29 – датчик указателя давления масла.
Емкость системы смазки 6,5 л. Масло в двигатель заливается через маслозаливную горловину, расположенную на крышке клапанов и закрытую крышкой 13. Уровень масла контролируется по меткам «П» и «0» на стержне указателя уровня 24. При эксплуатации автомобиля по пересеченной местности уровень масла следует поддерживать вблизи метки «П», не превышая ее.
Масляный насос шестеренчатого типа установлен внутри масляного картера и крепится к блоку цилиндров двумя болтами и держателем масляного насоса.
Редукционный клапан плунжерного типа, расположен в корпусе маслоприемника масляного насоса. Редукционный клапан отрегулирован на заводе установкой тарированной пружины.
Фильтр очистки масла - на двигатель устанавливается полнопоточный масляный фильтр однократного использования неразборной конструкции.
Система вентиляции картера
Система вентиляции картера – закрытого типа, действующая за счёт разрежения во впускной системе. Маслоотражатель 4 размещён в крышке маслоотделителя 3.
Система вентиляции картера: 1 – воздуховод; 2 - крышка клапанов; 3 – крышка маслоотделителя; 4 – маслоотражатель; 5 – шланг вентиляции; 6 – выпускной патрубок турбокомпрессора; 7 – турбокомпрессор; 8 – впускной патрубок турбокомпрессора; 9 – впускная труба; 10 – ресивер.
При работе двигателя картерные газы проходят по каналам блока цилиндров в головку цилиндров, смешиваясь по пути следования с масляным туманом, далее проходят через маслоотделитель, который встроен в крышку клапанов 2. В маслоотделителе масляная фракция картерных газов отделяется маслоотражателем 4 и стекает через отверстия в полость головки цилиндров и далее в картер двигателя. Осушенные картерные газы по шлангу вентиляции 5 поступают через впускной патрубок 8 в турбокомпрессор 7, в котором они смешиваются с чистым воздухом и подаются через выпускной (нагнетательный) патрубок 6 турбокомпрессора по воздуховоду 1 последовательно в ресивер 10, впускную трубу 9 и далее в цилиндры двигателя.
Система охлаждения
Система охлаждения - жидкостная, закрытая, с принудительной циркуляцией охлаждающей жидкости. Система включает в себя водяные рубашки в блоке цилиндров и в головке цилиндров, водяной насос, термостат, радиатор, жидкостно-масляный теплообменник, расширительный бачок со специальной пробкой, вентилятор с муфтой, краники слива ОЖ на блоке цилиндров и радиаторе, датчики: температуры охлаждающей жидкости (системы управления), указателя температуры ОЖ, сигнализатора перегрева ОЖ. Наиболее выгодный температурный режим охлаждающей жидкости лежит в пределах 80...90 °С. Указанная температура поддерживается при помощи термостата, действующего автоматически. Поддержание термостатом правильного температурного режима в системе охлаждения оказывает решающее влияние на износ деталей двигателя и экономичность его работы. Для контроля температуры охлаждающей жидкости в комбинации приборов автомобиля имеется указатель температуры, датчик которого ввернут в корпус термостата. Кроме того, в комбинации приборов автомобиля имеется сигнализатор аварийной температуры, загорающийся красным цветом при повышении температуры жидкости свыше плюс 102…109 °С. Водяной насос центробежного типа расположен и закреплен на крышке цепи. Привод водяного насоса и генератора осуществляется поликлиновым ремнем 6РК 1220. Натяжение ремня производится изменением положения натяжного ролика/ Привод вентилятора и насоса ГУР осуществляется поликлиновым ремнем 6РК 925. Натяжение ремня производится изменением положения шкива насоса ГУР.
Схема системы охлаждения двигателя на автомобилях УАЗ: 1 – краник отопителя салона; 2 – электронасос отопителя; 3 – двигатель; 4 – термостат; 5 – датчик указателя температуры ОЖ; 6 – датчик температуры охлаждающей жидкости (системы управления); 7 – датчик сигнализатора перегрева ОЖ; 8 – заливная горловина радиатора; 9 – расширительный бачок; 10 – пробка расширительного бачка; 11 – вентилятор; 12 – радиатор системы охлаждения; 13 – муфта вентилятора; 14 – сливная пробка радиатора; 15 – привод вентилятора; 16 – водяной насос; 17 – теплообменник жидкостно-масляный; 18 – сливной краник ОЖ блока цилиндров; 19 – трубка отопителя; 20 – радиатор отопителя салона.
Схема привода вспомогательных агрегатов: 1 – шкив коленчатого вала привода водяного насоса и генератора; 2 – зубчатый шкив привода ТНВД; 3 – натяжной ролик; 4 – ремень привода генератора и водяного насоса; 5 – шкив генератора; 6 – натяжной ролик ремня привода ТНВД; 7 – шкив ТНВД; 8 – зубчатый ремень привода ТНВД; 9 – шкив вентилятора; 10 – ремень привода вентилятора и насоса ГУР; 11 – шкив насоса ГУР; 12 – направляющий ролик; 13 – шкив водяного насоса.
Система впуска воздуха и выпуска отработавших газов
В двигателях ЗМЗ-5143.10 применена четырехклапанная на один цилиндр система газораспределения, которая позволяет значительно улучшить наполнение и очистку цилиндров по сравнению с двухклапанной, а также в совокупности с винтовой формой впускных каналов обеспечить вихревое движение воздушного заряда для лучшего смесеобразования. Система впуска воздуха включает в себя: воздушный фильтр, шланг, впускной патрубок турбокомпрессора, турбокомпрессор 5, выпускной (нагнетательный) патрубок турбокомпрессора 4, воздуховод 3, ресивер 2, впускную трубу 1, впускные каналы головки цилиндров, впускные клапаны. Подача воздуха при запуске двигателя осуществляется за счет разрежения, создаваемого поршнями, а далее турбокомпрессором с регулируемым наддувом.
Система впуска воздуха: 1 – впускная труба; 2 – ресивер; 3 – воздуховод; 4 – выпускной патрубок турбокомпрессора; 5 – турбокомпрессор.
Выпуск отработавших газов осуществляется через выпускные клапаны, выпускные каналы головки цилиндров, чугунный выпускной коллектор, турбокомпрессор, приемный патрубок трубы глушителя и далее по системе выпуска автомобиля.
Турбокомпрессор является одним из основных агрегатов системы впуска воздуха и выпуска отработавших газов, от которого зависят эффективные показатели двигателя – мощность и крутящий момент. Турбокомпрессор использует энергию отработавших газов для нагнетания воздушного заряда в цилиндры. Колесо турбины и колесо компрессора находятся на общем валу, который вращается в плавающих радиальных подшипниках скольжения.
Турбокомпрессор: 1 – корпус компрессора; 2 – пневмопривод перепускного клапана; 3 – корпус турбины; 4 – корпус подшипников.
Система рециркуляции отработавших газов (СРОГ)
Система рециркуляции отработавших газов служит для снижения выброса токсичных веществ (NOx) с отработавшими газами путём подачи части отработавших газов (ОГ) из выпускного коллектора в цилиндры двигателя. Рециркулирование отработавших газов на двигателе начинается после прогрева охлаждающей жидкости до температуры 20…23 °С и осуществляется во всем диапазоне частичных нагрузок. При работе двигателя на полной нагрузке система рециркуляции отработавших газов выключается.
Система рециркуляции отработавших газов: 1 – пневмокамера; 2 – шланг от электромагнитного клапана управления к клапану рециркуляции; 3 – пружина; 4 – шток клапана рециркуляции; 5 – клапан рециркуляции; 6 – трубка рециркуляции; 7 – коллектор; 8 – выпускной патрубок турбокомпрессора.
При подаче напряжения 12 В открывается электромагнитный клапан, который устанавливается на автомобиле, и под воздействием разрежения, которое создаётся в наддиафрагменной полости пневмокамеры 1 вакуумным насосом, цилиндрическая пружина 3 сжимается, шток 4 с клапаном 5 поднимается и в результате этого происходит перепуск части ОГ из коллектора 7 в выпускной (нагнетательный) патрубок 8 турбокомпрессора, а далее в цилиндры двигателя.
Система Управления Двигателем
Система управления двигателем предназначена для запуска двигателя, управления им в режиме движения транспортного средства и остановки. Основные функции системы управления двигателя - управление свечами накаливания – для обеспечения холодного пуска двигателя и его прогрева; - управление рециркуляцией отработавших газов – для снижения содержания окислов азота (NOx) в отработавших газах; - управление работой электрического подкачивающего насоса (ЭПН) – для улучшения подачи топлива; - формирование сигнала на тахометр автомобиля – для выдачи информации о скорости вращения коленчатого вала двигателя.
Сравнение характеристик ЗМЗ 5143 и 51432
ЗМЗ 514 поломки и проблемы двигателя - видео
Дизель ЗМЗ 514 - видео
Читайте также на сайте:













