Система охлаждения УАЗ Хантер ЗМЗ 409
- Содержание:
- Принцип работы системы охлаждения Уаз Хантер
- Перегрев Уаз Хантер
- Обслуживание системы охлаждения Уаз Хантер
- Проверка термостата Уаз Хантер
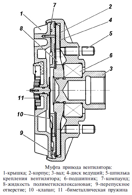
- Вязкостная муфта 3741-1308070, гидромуфта привода вентилятора
- Проверка исправности и работоспособности вискомуфты системы охлаждения Уаз Хантер
- Регулировка натяжения ремня привода насоса системы охлаждения и генератора
- Система охлаждения Уаз Хантер переделка - видео
Система охлаждения Уаз Хантер, модели УАЗ-315195 с двигателями ЗМЗ-409.10 Евро-2, ЗМЗ-40904.10 Евро-3 и ЗМЗ-40905.10 Евро-4, и модели УАЗ-315196 с двигателем ЗМЗ-4091.10 Евро-3, жидкостная, закрытая, с принудительной циркуляцией жидкости. Устройство и особенности системы охлаждения Уаз Хантер рассмотрены ниже.Система охлаждения состоит из рубашки охлаждения двигателя, радиатора, водяного насоса, термостата, расширительного бачка, вязкостной муфты, вентилятора, соединительных шлангов и трубок. К системе охлаждения также подсоединен радиатор отопителя. Давление в системе создает водяной насос, который приводится в действие ремнем от коленчатого вала.
Схема системы охлаждения УАЗ Хантер: 1, 2 – радиаторы отопителя; 3 – электронасос; 4 – двигатель; 5 – дроссельный патрубок; 6 – термостат; 7 – датчик указателя температуры охлаждающей жидкости; 8 – датчик сигнальной лампы перегрева охлаждающей жидкости; 9 – вязкостная муфта привода вентилятора; 10 – вентилятор; 11 – пробка радиатора; 12 – радиатор; 13 – пробка расширительного бачка; 14 – расширительный бачок; 15 – электровентилятор; 16 – водяной насос; 17 – сливной кран блока цилиндров. Слив жидкости из системы охлаждения двигателя производится через пробку расположенную с левой стороны блока цилиндров двигателя и сливное отверстие радиатора, закрытое пробкой или краном. Рычаг или рукоятку управления краном отопителя салона при сливе охлаждающей жидкости необходимо установить в положение «Открыто». В качестве охлаждающей жидкости должна применяться низкозамерзающая жидкость Тосол-А40М. При температуре окружающего воздуха ниже минус 40 градусов, в системе охлаждения нужно применять Тосол-А65М. Не рекомендуется заполнять систему охлаждения водой, так как в состав тосола входят антикоррозионные и антивспенивающие присадки, а также присадки, препятствующие отложению накипи. Полная емкость системы охлаждения Уаз Хантер — 12,5 литров. Рабочая температура охлаждающей жидкости на выходе из двигателя должна быть в пределах плюс 80-105 градусов. Допускается кратковременная, на протяжении не более 5 минут, работа двигателя при повышении температуры охлаждающей жидкости до плюс 109 градусов.
Принцип работы системы охлаждения Уаз Хантер
Из водяного насоса охлаждающая жидкость подается в рубашку охлаждения двигателя, а затем поступает в термостат. В зависимости от температуры жидкости дальше она проходит, при низкой температуре в водяной насос, или при высокой температуре, в радиатор, а уже откуда, охладившись, поступает в водяной насос. Радиатор трубчато-ленточный, алюминиевый, по бокам расположены кронштейны для его крепления к облицовке радиатора. Каталожный номер радиатора — 3160-1301010 или 31602-1301009.Расширительный бачок пластмассовый, соединен патрубком с радиатором и закрыт резьбовой пробкой с клапаном, поддерживающим избыточное давление в системе. Каталожный номер расширительного бачка — 3160-1311010.
![]()
Перегрев Уаз Хантер
В случае загорания контрольной лампы перегрева охлаждающей жидкости, нужно немедленно установить и устранить причину перегрева. В исключительных случаях, например, в случае значительной утечки охлаждающей жидкости, в систему охлаждения допускается кратковременная заливка чистой, пресной воды. Не допускается использование морской воды, а также щелочи для смягчения воды, так как она разъедает алюминиевые детали двигателя. Перед применением воду надо профильтровать подручными средствами. При первой же возможности необходимо полностью слить воду, промыть систему охлаждения и залить низкозамерзающую охлаждающую жидкость.Обслуживание системы охлаждения Уаз Хантер
Обслуживание заключается в проверке уровня охлаждающей жидкости, удалении из системы охлаждения накипи и осадков, регулировке натяжения ремня привода вентилятора и водяного насоса, в периодической промывке радиатора снаружи, промывке клапана пробки радиатора 469-1304009 или 3741-1304010. Уровень охлаждающей жидкости в расширительном бачке должен быть на 3-4 сантиметра выше метки «МИН». Так как охлаждающая жидкость имеет высокий коэффициент теплового расширения и ее уровень в расширительном бачке значительно меняется в зависимости от температуры, проверка уровня должна производится при температуре в системе плюс 15-20 градусов. В тех случаях, когда снижение уровня охлаждающей жидкости в расширительном бачке произошло за короткий промежуток времени или после небольших пробегов до 500 километров, необходимо проверить герметичность системы охлаждения и устранив не герметичность, долить в радиатор или в расширительный бачок ту же самую охлаждающую жидкость. Через каждые два года или каждые 60 000 километров пробега, в зависимости от того, что раньше наступит, необходимо промывать систему охлаждения, а охлаждающую жидкость заменять новой.Проверка термостата Уаз Хантер
Одновременно с промывкой системы охлаждения, а также в случаях систематического перегрева двигателя, надо проверить исправность термостата ТР2-1306100 или ТС107-1306100-05. Для проверки, термостат вместе с термометром помещается в сосуд с водой нагретой до температуры 70-75 градусов. Затем, постепенно нагревая воду, надо следить за температурой начала открытия клапана термостата. Термостат системы охлаждения считается исправным, если температура начала открытия его клапана находится в пределах 78+-1,5 градуса, а температура полного открытия клапана равна 82 градуса. Неисправный термостат меняется на новый. При проверке термостата надо обратить внимание на чистоту тарелки клапана. Накипь и грязь с поверхности термостата удаляется деревянной лопаткой, а затем он промывается в чистой воде. Проверить исправность термостата можно и по нагреванию патрубка верхнего бачка радиатора при прогреве двигателя. При неисправном термостате патрубок прогревается сразу же после пуска двигателя, а при исправном — после того, как температура охлаждающей жидкости достигнет 75-80 градусов. Эксплуатация двигателя ЗМЗ-409 без термостата не допускается.Вязкостная муфта 3741-1308070, гидромуфта привода вентилятора
На двигатели ЗМЗ-409 устанавливается вязкостная муфта 3741-1308070-01 / -02 / -03 / -04 привода вентилятора 3741-1308010-01 позволяющая снизить расход топлива, уменьшить шум вентилятора, а также способствующая прогреву холодного двигателя и поддержанию теплового режима двигателя в оптимальных пределах.При эксплуатации необходимо контролировать расстояние от лопастей вентилятора до верхнего бачка радиатора и от муфты до сердцевины радиатора, оно должно быть не менее 15 мм. Наружную поверхность вискомуфты следует содержать в чистоте для обеспечения отвода тепла, выделяющегося в процессе ее работы, и нормальной работы биметаллической пружины клапана. Включение и выключение муфты происходит автоматически.
Если в процессе эксплуатации вискомуфта перестает включаться или включается не полностью, то двигатель может перегреваться. В этом случае вискомуфту заменяют на новую или, если ее конструкция позволяет, меняют в ней рабочую полиметилсилоксановую жидкость ПМС-10000 ТУ 6-02-737-78 на свежую.
Проверка исправности и работоспособности вискомуфты системы охлаждения Уаз Хантер
Прежде всего, надо убедится в отсутствии на вискомуфте следов утечки рабочей жидкости. Если следы утечки есть, то она подлежит замене. На прогретом двигателе с закрытым капотом установите частоту вращения коленчатого вала около 3 000 оборотов в минуту. Крыльчатка вентилятора при этом будет вращаться за счет остаточного вращающего момента. При температуре охлаждающей жидкости в пределах 85-95 градусов, вискомуфта должна автоматически начать работать. Скорость вращения вентилятора сразу же сильно увеличится, это будет не только видно, но и слышно по усилившемуся шуму. После остановки двигателя, включившаяся в работу вискомуфта должна сразу же перестать вращаться. Если этого не происходит, то вискомуфта неисправна и требует замены. Плюсы конструкции: 1. Не зависит от электросети автомобиля. Из этого плюса вытекает второй. 2. Не нужно заботиться о вентиляторе, если проезжаешь глубокий брод (электричества нет — нечему водой замыкаться). 3. Частота вращения регулируется в зависимости от температуры нагрева двигателя (двигатель холодный — вращается медленно, нагрелся — вращается быстро). Минусы конструкции: 1. Отъедает мощность двигателя на постоянный привод шкива (даже когда охлаждение не нужно) 2. Частота вращения вентилятора зависит от оборотов двигателя (чем больше оборотов, тем быстрее вентилятор может вращаться и наоборот): — в случае проезда по тяжелому участку (грязь, снег, …), особенно при буксовании, двигатель имеет низкие обороты и высокую потребность в охлаждении. А вентилятор быстро вращаться не может из-за низких оборотов двигателя. — в случае глушения двигателя, вентилятор не вращается. Это не всегда хорошо, т.к. в жаркую погоду нужно чтобы вентилятор еще некоторое время погонял воздух после остановки двигателя. 3. В случае слетания вентилятора с подшипника оси крышки двигателя, крыльчатка вылетает вперед (она металлическая) и лопастями прорезает радиатор. 4. При потере свойств жидкости (или самой жидкости), залитой в вискомуфту, эффективность ее работы падает. Вентилятор вращается медленнее, чем положено.Регулировка натяжения ремня привода насоса системы охлаждения и генератора
Натяжение ремня привода насоса системы охлаждения 4062.1307010-42 и генератора производится натяжным роликом. Прогиб ремня должен находиться в пределах 13-15 мм при усилии 8 кгс. Натяжение ремня привода вентилятора и насоса гидроусилителя рулевого управления производится перемещением насоса ГУР. Прогиб ремня должен находиться в пределах 10-15 мм при усилии на него 4 кгс.Натяжение ремня привода насоса системы охлаждения и генератора на двигателях ЗМЗ-40904 Евро-3 и ЗМЗ-40905 Евро-4 обеспечивается автоматическим механизмом натяжения ремня. В процессе эксплуатации регулировка натяжения ремня не требуется.
Для проверки исправности автоматического механизма натяжения надо проверьте плавность перемещения рычага с роликом механизма из одного крайнего положения в другое при снятом ремне. В случае заедания, автоматический механизм натяжения ремня необходимо заменить.
Система охлаждения Уаз Хантер переделка - видео
Читайте также на сайте:



















