Система охлаждения КАМАЗ 740
Необходимость системы охлаждения вызывается тем, что детали двигателя, соприкасающиеся с раскалёнными газами, при работе сильно нагреваются. Если не охлаждать внутренние детали двигателя, то вследствие перегрева может произойти выгорания слоя смазки между деталями и заедание их. Нельзя допускать и переохлаждения двигателя, так как при этом увеличиваются тепловые потери, и уменьшается количество используемого тепла, возрастают потери на трение вследствие загустеваний смазки, ухудшаются условия смесеобразования, снижается мощность и ухудшается экономичность. Нормальный тепловой режим работы двигателя должен быть в пределах 80-98C.Работа системы охлаждения
От вращения коленчатого вала двигателя через привод приводится в действие водяной насос. В приёмной полости водяного насоса при вращении крыльчатки создаётся разряжение. Охлаждающая жидкость за счёт разряжения поступает из нижнего бачка радиатора в водяной насос, а из него нагнетается в рубашку охлаждения блока цилиндров, оттуда в рубашки головок блока и далее к термостату. Если температура охлаждающей жидкости менее 75C, термостаты закрыты и жидкость циркулирует, минуя радиатор. При достижении температуры охлаждающей жидкости 95C термостаты полностью открываются, и охлаждающая жидкость циркулирует через радиатор, охлаждаясь там потоком воздуха, создаваемым вентилятором.
Схема системы охлаждения: 1 – вентилятор; 2 – сливной кран системы охлаждения; 3 – труба подводящая правого полу блока; 4 – патрубок подводящей трубы; 5 – головка цилиндров; 6 – выключатель гидромуфты привода вентилятора; 7 – коробка термостатов; 8 – патрубок отвода воды из бачка в водяной насос; 9 – патрубок отвода воды в отопитель; 10 – кран контроля уровня охлаждающей жидкости; 11 – труба воздухоотводящая от радиатора; 12 – бачок расширительный; 13 – пробка паро-воздушная; 14 – трубка перепускная от двигателя к расширительному бачку; 15 – трубка соединительная от компрессора к бачку; 16 – компрессор; 17 – труба водосборная правая; 18 – труба водяная соединительная; 19 – труба водосборная левая; 20 – труба перепускная термостатов; 21 – насос водяной; 22 – колено отводящего патрубка водяного трубопровода; 23 – термостат; I - в радиатор при открытых термостатах; II – в насос при закрытых термостатах; III - из радиатора. Система охлаждения предназначена для поддержания нормального теплового режима двигателя. В двигателе КАМАЗ 740 она жидкостная, закрытого типа, с принудительной циркуляцией охлаждающей жидкости, заправочный объём составляет 34.5 л. Закрытая система охлаждения сообщается с атмосферой непосредственно, а через паровоздушный клапан. Преимущество закрытой системы состоит в том, что она позволяет повысить температуру кипения охлаждающей жидкости и почти устраняет потери жидкости от испарения.
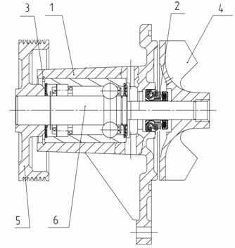
К системе жидкостного охлаждения относятся: полость охлаждения блока и головок цилиндров, радиатор, водяной насос, гидромуфта привода вентилятора, вентилятор, жалюзи, термостат, патрубки, шланги, сливные краники.Радиатор предназначен для интенсивного охлаждения жидкости. На двигателе КАМАЗ 740 установлен трубчато пластичный радиатор. Он состоит из сердцевины, верхнего и нижнего бачков. Сердцевина радиатора выполнена из отдельных вертикальных трубок, между которыми находятся поперечные горизонтальные пластины, придающие радиатору жёсткость и увеличивающие поверхность охлаждения. Трубки сердцевины впаяны в верхний и нижний бачки. Верхний бачок соединён прорезиненным шлангом с полостью охлаждения двигателя. Нижний бачок имеет кран для выпуска охлаждающей жидкости и патрубок для соединения с водяным насосом. В радиаторе автомобиля КАМАЗ заливной горловины нет, а заполнение его охлаждающей жидкостью осуществляется через расширительный бачок. Он расположен на двигателе с правой стороны и служит для компенсации объёма охлаждающей жидкости при её нагреве. Бачок имеет две горловины. В одной горловине установлена пробка с паровоздушным клапаном, через вторую горловину происходит заполнение системы охлаждения. Жалюзи предназначены для регулирования проходящего потока воздуха через радиатор. Жалюзи установлены перед радиатором и представляют собой набор пластин-створок, шарнирно закреплённых в каркасе. Привод жалюзи осуществляется из кабины с помощью тяг и рычагов. Водяной насос предназначен для создания принудительной циркуляции охлаждающей жидкости. Насос центробежного типа. Насос установлен в передней части блока цилиндров, он приводится в действие от шкива коленчатого вала через ремень. Водяной насос состоит из корпуса, вала с крыльчаткой, подшипников и сальника. Под действием центробежной силы, возникающей при вращении крыльчатки, охлаждающая жидкость из нижнего бачка радиатора поступает к центру корпуса насоса и отбрасывается к его наружным стенкам. Из отверстия в стенке корпуса насоса охлаждающая жидкость попадает в полость охлаждения блока цилиндров.1 – корпус; 2 – сальник; 3 – кольцо упорное; 4 – крыльчатка; 5 – шкив; 6 – подшипник радиальный шарико-роликовый с валиком, 7, 8 - отверстия. Вентилятор предназначен для усиления потока воздуха, проходящего через сердцевину радиатора. Он состоит из крыльчатки с пятью лопастями, привёрнутыми к ступице. Привод вентилятора осуществляется гидромуфтой с автоматическим управлением. Гидромуфта привода вентилятора предназначена для передачи крутящего момента от коленчатого вала к вентилятору, а также для гашения колебаний нагрузок, которые возникают при резком изменении частоты вращения коленчатого вала. Ведущая часть гидромуфты состоит из ведущего вала с кожухом, ведущего колеса и шкива. Ведомая часть гидромуфты вращается на двух шариковых подшипниках и состоит из ведомого колеса свалом, на котором крепится ступица вентилятора. Уплотняется гидромуфта двумя резиновыми манжетами.
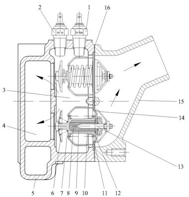
Гидромуфта привода вентилятора: 1 – передняя крышка; 2 – корпус подшипника; 3 – кожух; 4. 8. 13, 19 – шарикоподшипники; 5 – трубка корпуса подшипника; 6 – ведущий вал; 7 – вал привода гидромуфты; 9 – ведомое колесо; 10 – ведущее колесо; 11 – шкив; 12 – вал шкива; 14 – втулка манжеты; 15 – ступица вентилятора; 16 – ведомый вал; 17, 20 – манжеты с пружиной; 18 – прокладка. Вентилятор может работать в трёх режимах в зависимости от положения крана включения: в автоматическом, когда температура охлаждающей жидкости поддерживается в пределах 86-90C, - положение крана «В»; при отключённом вентиляторе кран включается в положение «О»; при третьем режиме вентилятор включён постоянно – работа на таком режиме допустима кратковременно. В корпусе включателя расположены термосиловой элемент, золотник и возвратная пружина. При повышении температуры охлаждающей жидкости до 95C шток термосилового элемента перемещает золотник и масло из системы смазки двигателя поступает под давлением в полость гидромуфты. Центробежной силой масло отбрасывается к краю вращающегося ведущего колеса и, ударяясь о лопатки ведомого колеса, приводит его во вращение вместе с валом вентилятора. Сливается масло в поддон картера. При положении температуры охлаждающей жидкости ниже 86C золотник под действием возвратной пружины перекрывает доступ масла – вентилятор отключается. Автоматическая муфта включения вентилятора обеспечивает поддержание оптимального теплового режима двигателя и снижает расход мощности двигателя, повышая экономичность его работы. Термостат предназначен для автоматического регулирования температуры охлаждающей жидкости в системе охлаждения двигателя и для ускорения его прогрева после пуска. На двигателях КАМАЗ установлен термостат с твёрдым наполнителем. Такой термостат состоит из корпуса, внутри которого помещён медный баллон, заполняемый массой, состоящей из медного порошка, смешанного с церезином (нефтяной воск). Баллон сверху закрыт крышкой. Между баллоном и крышкой расположена резиновая диафрагма, сверху которой установлен шток, упирающийся в серьгу, закреплённую при помощи оси на клапане.
Устройство термостата: 1 – датчик указателя температуры; 2 – датчик сигнализатора аварийного перегрева; 3 – канал выхода жидкости из двигателя; 4 – канал перепуска жидкости на вход насоса; 5 – корпус водяных каналов; 6 – перепускной клапан; 7 – пружина перепускного клапана; 8 – резиновая вставка; 9 – наполнитель; 10 – баллон; 11 – пружина основного клапана; 12 – основной клапан; 13 – поршень; 14 – корпус; 15 – патрубок водяной коробки; 16 – прокладка. В верхней части корпуса термостата имеются две прорези, в которых установлен клапан. В не прогретом двигателе масса в баллоне находится в твёрдом состоянии, и клапан термостата закрыт под действием спиральной пружины. При прогреве двигателя масса в баллоне начинает плавиться, объём её увеличивается и давит на диафрагму и шток, открывая клапан. Полное открытие клапана произойдёт при температуре 91-95C, так как при этом происходит наибольшее расширение массы наполнителя. На автомобилях КАМАЗ установлены два термостата. При температуре охлаждающей жидкости выше 80 С, наполнитель 9, находящийся в баллоне 10, начинает плавиться, увеличиваясь в объеме. Наполнитель состоит из смеси 60 % церезина (нефтяного воска) и 40 % алюминиевой пудры. Давление от расширяющегося наполнителя через резиновую вставку 8 передается на поршень 13, который, выдавливаясь наружу, перемещает баллон 10 с основным клапаном 12, сжимая пружину 11. Между корпусом 14 и клапаном 12 открывается кольцевой проход для охлаждающей жидкости в радиатор. При температуре охлаждающей жидкости 93 С происходит полное открытие термостата, клапан поднимается на высоту не менее 8,5 мм. Одновременно с открытием основного клапана вместе с баллоном перемещается перепускной клапан 6, который перекрывает отверстие в водяной коробке корпуса водяных каналов, соединяющее ее с входом водяного насоса. При понижении температуры охлаждающей жидкости до 80 С и ниже, под действием пружин 7 и 11 происходит возврат клапанов 12 и 6 в исходное положение. Для контроля температуры охлаждающей жидкости, на водяной коробке корпуса водяных каналов установлено два датчика температуры 1 и 2. Датчик 1 выдает показания текущего значения температуры охлаждающей жидкости на щиток приборов, датчик 2 служит сигнализатором перегрева охлаждающей жидкости. При повышении температуры до 98…104 С на щитке приборов загорается контрольная лампа аварийного перегрева охлаждающей жидкости. Регулировка натяжения ремня привода водяного насоса и генератора 2 (рисунок 1.4.5-6) привода генератора, водяного насоса для двигателей с расположением вентилятора соосно с коленчатым валом выполняется следующим образом: - ослабить болты и гайки крепления генератора; - вращением болта натяжного 6 обеспечить необходимое натяжение ремня;
Схема проверки натяжения ремня привода генератора и водяного насоса: 1 – шкив водяного насоса; 2 – ремень поликлиновой; 3 – шкив коленчатого вала; 4 – ролик направляющий; 5, 10 – болты; 6 – болт натяжной; 7, 9 – гайки; 8 – шкив генератора. После регулировки проверить натяжение ремня: - правильно натянутый ремень 2 при нажатии на середину наибольшей ветви усилием F = (44,1±5) Н ((4,5±0,5) кгс) должен иметь прогиб – 6…10 мм. Проверка уровня охлаждающей жидкости в системе производится на холодном двигателе. Уровень должен находиться между отметками “MIN” и “MAX” на боковой поверхности расширительного бачка. В ходе эксплуатации необходимо следить за плотностью охлаждающей жидкости, которая при ее температуре 20 С должна быть: - ОЖ-40 «Лена» – (1,075…1,085) г/см3; - «Тосол-А40М» – (1,078…1,085) г/см3; - ОЖ-65 «Лена» и «Тосол-А65М» – (1,085…1,100) г/см3. Воздушный зазор между фрикционным диском и шкивом электромагнитной муфты привода вентилятора проверять и регулировать на неработающем двигателе тремя регулировочными болтами 1. Зазор по окружности фрикционного диска должен быть равномерным и составлять 0,6±0,1 мм.
Система охлаждения двигателя автомобиля КАМАЗ - видео
Читайте также на сайте:


















