Передний мост трактора МТЗ-82: устройство, обслуживание, ремонт
- Содержание:
- Техническое обслуживание колесного редуктора
- Регулировка подшипников верхней конической пары
- Регулировка зацепления верхней конической пары
- Регулировка схождения передних колес (тракторы МТЗ-82 с ГУР)
- Капремонт переднего моста мтз 82 часть 1 - видео
- Капремонт переднего моста мтз 82 часть 2 - видео
Передний ведущий мост МТЗ 82 представляет собой объединенные в один общий узел механизмы, при помощи которых передается крутящий момент от карданной передачи к передним колесам, обеспечиваются поворот и стабилизация управляемых колес, передаются толкающие усилия от передних ведущих колес остову трактора.Конструкция переднего ведущего моста такая же, как и неведущего, портального типа (балка такого моста расположена выше оси колес). Это обеспечивает высокий (650 мм) агротехнический просвет, необходимый для междурядной обработки высокостебельных пропашных культур.
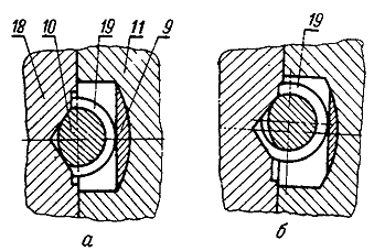
Передний ведущий мост трактора МТЗ-82: 1 - механизм регулировки колеи; 2 - крышка моста; 3 - корпус манжеты; 4, 20 и 21 - регулировочные прокладки; 5, 23 и 25- подшипники; 6 и 28 - гайки; 7 - ведомая шестерня; 8 - ведущий диск; 9 -нажимная чашка; 10 и 11 - корпуса дифференциала; 12 - ведомый диск; 13 - сапун; 14 - корпус моста; 15 - полуосевая шестерня; 16 - заглушка полуосевой шестерни; 17 - болт дифференциала; 18 - ось сателлитов; 19 - сателлит; 22 - стакан ведущей шестерни; 24 - ведущая шестерня; 26 - регулировочные шайбы; 27 - соединительный фланец; 29 - клин; 30 - брус полурамы; 31 - втулка бруса; 32 - стопорная планка; 33 - ось качания. Корпус 14 и крышка 2 моста соединены по фланцам болтами, внутри корпусов размещены главная передача и дифференциал. Кожухи полуосей колесных редукторов фиксируются в рукавах переднего моста каждый двумя клиньями 29. Перемещение колесных редукторов относительно корпуса и крышки моста осуществляется при помощи винтовых механизмов 1. Главная передача представляет собой пару конических шестерен и предназначена для увеличения крутящего момента и передачи его к Дифференциалу под углом 90°. Для повышения плавности зацепления и бесшумности передачи конические шестерни сделаны со спиральными зубьями. Передаточное число главной передачи 2,18 (23 :11). Ведущая шестерня 24 выполнена как одно целое со шлицевым валом и смонтирована в стакане 22 на двух конических роликовых подшипниках. Стакан с ведущей шестерней центрируется в расточке корпуса моста и крепится к его фланцу болтами. Ведомая шестерня 7 закреплена на центрирующем пояске и шлицах корпуса 10 дифференциала и от осевых перемещений удерживается гайкой 6. Вместе с дифференциалом ведомая шестерня вращается на двух конических роликовых подшипниках 5, один из которых расположен в корпусе, а другой - в крышке моста. Передний подшипник 23 ведущей шестерни напрессован на вал, задний подшипник 25 может перемешаться по валу при регулировке. Между подшипниками установлены регулировочные шайбы 26. На шлицевом конце ведущей шестерни находится фланец 27 для подсоединения карданного вала. Фланец закреплен гайкой 28, служащей одновременно для затяжки подшипников. Стакан 22 в расточке корпуса моста уплотнен резиновым кольцом, а вал ведущей шестерни - самоподжимной манжетой, запрессованной вместе с обоймой в расточку стакана. Для предотвращения подпора масла перед манжетой установлено маслоотражательное кольцо с винтовыми канавками, нарезанными по его наружному диаметру. Дифференциал переднего моста конический, с четырьмя сателлитами, самоблокирующийся. Блокировка дифференциала осуществляется автоматически за счет сил трения при передаче к дифференциалу крутящего момента от главной передачи либо тормозного момента от передних колес. Когда передний мост отключен, дифференциал не блокируется и работает, как обычный дифференциал. Дифференциал состоит из двух корпусов 10 и 11, в которых размещено четыре сателлита 19 на двух осях 18, две полуосевые шестерни 15 и две нажимные чашки 9, а также пакеты фрикционных дисков 8 и 12. Корпуса дифференциала скреплены болтами 17, гайки которых попарно контрятся отгибными пластинами. Полуосевые шестерни своими торцевыми поверхностями опираются на торцы нажимных чашек. На концах осей 18, расположенных крестообразно, установлено по два сателлита, находящихся в постоянном зацеплении с полуосевыми шестернями, как и в обычном дифференциале. Опорные поверхности сателлитов и нажимных чашек выполнены сферическими, что улучшает центрирование сателлитов и их зацепление с полуосевыми шестернями. Нажимные чашки 9 центрируются по наружному диаметру в расточках корпусов дифференциала. Полуосевые шестерни имеют удлиненные ступицы с внутренними шлицами, куда заходят полуоси колесных редукторов на различную длину, в зависимости от колеи передних колес. Для предотвращения подтекания смазки в ступицы полуосевых шестерен запрессованы заглушки 16 с уплотнительными прокладками. Ведущие фрикционные диски 8 имеют наружные зубья и соединены с внутренними зубьями корпусов дифференциала, ведомые диски 12 и нажимные чашки 9 имеют внутренние зубья и соединены наружными шлицами полуосевых шестерен. Две сопряженные поверхности дисков - ведущего и ведомого - образуют пару трения. Каждая сторона дифференциала имеет по три пары трения. Особенность дифференциала заключается также в том, что оси 8 сателлитов плавающие и могут перемещаться относительно друг друга. При этом на концах осей сделаны скосы. Соответственно форме концов осей сателлитов выполняются гнезда-пазы в корпусах дифференциала.
Схема перемещения осей сателлитов дифференциала: а - дифференциал разблокирован; б - дифференциал заблокирован; 9. Колесный редуктор служит для увеличения крутящего момента, передаваемого от главной передачи к колесам, и для осуществления поворота передних направляющих и ведущих колес. Редуктор состоит из двух пар конических шестерен - верхней и нижней. Передаточное число верхней пары 1,27 (14 :11), нижней-4,83 (58 :14). Общее передаточное число редуктора 6,15.
Колесный редуктор: 1- стакан подшипника; 2 - крышка редуктора; 3 - ведомая шестерня; 4 - стакан уплотнения; 5 - уплотнительная набивка; 6 и 34- регулировочные прокладки; 7 - стакан шкворневой трубы; 8 - вертикальный вал; 9 - крышка; 10, 28 и 31- подшипники; 11 - распорное кольцо; 12 - гайка подшипников; 13 и 16 - манжеты; 14 - корпус верхней конической пары; 15 - полуось; 17 - обойма манжеты; 18 - уплотнительное кольцо; 19 - гильза шкворня; 20 - труба шкворня; 21 - штифт; 22 - отгибная шайба; 23 - пружина подвески; 24 - корпус редуктора; 25 - ведущая шестерня; 26 - крышка подшипника; 27 - опорная шайба; 29 - болт; 30 - регулировочные кольца; 32 - фланец диска; 33 - корпус манжеты. Верхнюю пару образуют зубчатые венцы полуоси 15 и вертикального вала 8, выполненные как одно целое со шлицевыми хвостовиками. Полуось шлицевым концом соединена с полуосевой шестерней дифференциала, а вертикальный вал - с ведущей шестерней 25 нижней пары. Ведущая шестерня 25 зацепляется с ведомой шестерней 3, которая установлена на шлицевой части фланца 32, выполняющего роль ступицы переднего колеса. Корпуса 14 верхних конических пар (кожухи полуосей) могут перемещаться в рукавах переднего моста с помощью винтов, входящих в зацепление с рейкой, нарезанной на выдвигающейся части корпусов. Это позволяет бесступенчато регулировать колею передних колес. От проворачивания и осевых перемещений в рукавах переднего моста корпуса 14 стопорятся клиньями. Полуось размещена в расточке корпуса 14 на двух конических роликовых подшипниках 10, вертикальный вал 8 - на таких же подшипниках в расточке шкворневой трубы 20. Между наружными обоймами подшипников установлено распорное кольцо 11. От осевых перемещений подшипники полуоси и вертикального вала удерживаются винтами, ввернутыми соответственно в корпус 14 и шкворневую трубу 20. Масляная ванна верхней пары отделена от нижней части редуктора двумя манжетами 18, полуось уплотняется манжетой 13. При повороте трактора рычаги, прикрепленные к корпусам 24 редукторов, поворачивают их нижнюю часть вместе с колесами вокруг шкворневой трубы 20. Шкворневая труба представляет собой трубу, на верхнюю часть которой напрессован и приварен стакан 7. Цилиндрическая часть стакана запрессована в расточку корпуса 14, а фланцем стакан крепится к корпусу 14 болтами. Уплотняется стакан в расточке резиновым кольцом. Шкворневая часть трубы 20 сопрягается с гильзой 19, запрессованной в корпусе редуктора. Внутри шкворневой трубы расположена витая цилиндрическая пружина 23 подвески. Нижний торец пружины опирается на подшипник, установленный в корпусе редуктора, верхний -в обойму 17 манжеты вертикального вала. При изменении нагрузки пружина сжимается, разжимается и шкворневая труба перемещается вместе с вертикальным валом и подрессоренной частью переднего моста относительно гильзы 19 и ведущей шестерни 25. Перемещение вниз ограничивается упором торца шкворневой трубы в корпус редуктора; вверх шкворневая труба может перемещаться до упора бурта стакана 4 уплотнения в бурт гильзы 19. Ведущая шестерня 25 нижней конической пары смонтирована на двух шариковых подшипниках в расточке корпуса 24. Ведомая шестерня 3 установлена на шлицевой части фланца - ступицы 32 переднего колеса. Фланец. 32 вращается в двух конических 31 и цилиндрическом 28 роликовых подшипниках. Наружные обоймы конических подшипников запрессованы в монтажный стакан 1, установленный в крышке редуктора 2, а наружная обойма подшипника 28-в расточку корпуса 24 редуктора.
Техническое обслуживание колесного редуктора
Техническое обслуживание колесного редуктора заключается в поддержании определенного уровня масла и периодической смене его, проверке и подтяжке крепежных соединений, устранении выявленных неисправностей. Зубчатые зацепления верхних и нижних конических пар и роликовые конические подшипники колесных редукторов при эксплуатации регулировать не требуется. Необходимость в регулировках возникает лишь при ремонтах и замене деталей. Уровень масла, заливаемого в корпус верхней конической пары и корпус редуктора, должен находиться у кромки заливных отверстий, которые одновременно являются и контрольными. Из корпуса 24 редуктора масло сливается через отверстие в нижней крышке 26. Смазку из верхней конической пары удаляют шприцем. Сначала шприц вставляют в заливное отверстие и отсасывают часть масла. После этого снимают верхнюю крышку 9, вставляют шприц в сверление вертикального вала 8 и полностью удаляют смазку.Удаление масла из верхней конической пары колесного редуктораЕсли при проверке обнаружено значительное снижение уровня масла в верхней конической паре, нужно выяснить причины утечки и незамедлительно их устранить. Подтекание смазки из верхней конической пары по манжетам вертикального вала и полуоси снаружи не видно, поэтому масло может вытечь незамеченным, что приведет к выходу из строя сборочной единицы.Регулировка подшипников верхней конической пары
Осевой зазор в подшипниках вертикального вала и полуоси регулируют затяжкой гайки 12. Гайку затягивают до тугого вращения наружных обойм подшипников, при этом обоймы проворачивают, чтобы ролики заняли правильное положение. Затем гайку отворачивают настолько, чтобы наружные обоймы могли свободно проворачиваться и осевой зазор не превышал 0,05 мм. После регулировки гайку стопорят кернением. При затяжке подшипников обращают внимание на то, чтобы распорное кольцо 11 не выступало за габариты наружных обойм подшипников и не препятствовало последующей запрессовке подшипников.Регулировка зацепления верхней конической пары
Боковой зазор в зацеплении зубчатых венцов вертикального вала и полуоси должен находиться в пределах 0,2...0,55 мм и регулируется перемещением шкворневой трубы 20 вместе с вертикальным валом с помощью разрезных прокладок 6, установленных между фланцами шкворневой трубы и корпуса 14. Положение полуоси не регулируется. Проверку зацепления проводят в следующем порядке: удаляют смазку шприцем, снимают крышку 9 и на фланец корпуса 14 закрепляют индикатор. Проворачивая ведущую шестерню главной передачи, замеряют индикатором перемещение зуба полуоси при застопоренном вертикальном вале. Если нет индикатора, боковой зазор можно определить с помощью свинцовой пластины, вставленной между зубьями. При изменении толщины прокладок 6 на 0,7 мм боковой зазор в зубьях изменяется примерно на 0,25 мм. После регулировки бокового зазора проверяют пятно контакта в зубьях. Регулировка подшипников колес и ведомой шестерни нижней конической пары осуществляется с помощью колец 30, установленных между внутренними обоймами подшипников 31. Кольца подбирают по толщине такими, чтобы после затяжки подшипников осевой зазор не превышал 0,05 мм и подшипники могли свободно проворачиваться. При правильной первоначальной регулировке и нормальной эксплуатации трактора осевой зазор в подшипниках в пределах 0,2...0,4 мм появляется после 5000...6000 ч работы. Поэтому, как правило, подшипники требуется регулировать лишь при ремонте трактора. Однако, если обнаружен повышенный осевой зазор, его следует устранить. Для этого надо снять колесо, слить смазку из редуктора, отъединить от корпуса 24 крышку 2 редуктора вместе с ведомой шестерней 3 и подшипниковым узлом, подтянуть до отказа болты 29. Если болты поддаются подтяжке, это значит, что причина повышенного осевого зазора подшипников в ослаблении затяжки болтов 29. Подтянув болты, повторно проверяют осевой зазор в подшипниках. Если он находится в допустимых пределах, узел устанавливают на прежнее место, предварительно зафиксировав болты 29 отжимной пластиной. Если же после затяжки болтов осевой зазор превышает 0,4 мм, уменьшают общую толщину регулировочных колец 30 подшлифовкой торца одного из них так, чтобы осевой зазор подшипников не превышал 0,05 мм. Регулировка зацепления шестерен нижней конической пары осуществляется перемещением ведомой шестерни 3 с помощью разрезных регулировочных прокладок 34, расположенных между фланцами стакана 1 подшипников и крышкой 2 редуктора. Положение ведущей шестерни не регулируется. Боковой зазор в зубьях новой пары шестерен устанавливается в пределах 0,25-0,64 мм.Регулировка схождения передних колес (тракторы МТЗ-82 с ГУР)
Сходимость передних колес при заводской регулировке устанавливается в пределах 0-8 мм. Периодически через каждые 500 ч работы, а также при каждом изменении колеи передних колес проверяйте и при необходимости регулируйте сходимость колес. Перед проверкой обязательно отрегулируйте зазоры в подшипниках колес и шарнирах рулевых тяг. Регулировку схождения колес производите в следующем порядке: - установите трактор на горизонтальной площадке с твердым покрытием; - установите сошку 10 в среднее положение, для чего, поворачивая рулевое колесо, установите его в положение, когда щуп 14 максимально утоплен; - проверьте, чтобы корпуса конических пар (для тракторов МТЗ-82 с ПВМ) или поворотные кулаки (для тракторов Беларус 80.1) были выдвинуты на одинаковую длину Б из корпуса переднего моста или трубы передней оси соответственно; - отрегулируйте левую и правую рулевые тяги, удлинив или укоротив их на одинаковую величину, для чего отпустите контргайки 3, 5, 6, 8 и вращая левую и правую трубы 7, 4, установите необходимую длину. - определите схождение колес, для чего замерьте расстояние (замер Г) между внутренними закраинами ободьев колес впереди (на высоте центров колес) и сделайте отметки мелом в местах замера. Затем проедьте на тракторе вперед настолько, чтобы метки были сзади на той же высоте, и замерьте расстояние между отмеченными точками (замер В). Второй замер должен быть больше первого; - разница между вторым В и первым Г замерами равна величине сходимости колес и должна быть в пределах 0-8 мм. При необходимости произведите регулировку схождения изменением длины рулевых тяг. При этом левую и правую тяги удлиняйте или укорачивайте на одинаковую величину; - снова проверьте установку сошки в среднее положение (по щупу) и разность замеров В и Г; - законтрите трубы рулевых тяг после окончательной регулировки схождения колес.![]()
Капремонт переднего моста мтз 82 часть 1 - видео
Капремонт переднего моста мтз 82 часть 2 - видео
Читайте также на сайте:

















