Установка зажигания ГАЗ 53
- Содержание:
- Установка и регулировка зажигания Газ 53, 3307, 66 - видео
- Техническая характеристика системы зажигания автомобилей ГАЗ-53
- Техническое обслуживание зажигания ГАЗ-53
- Распределитель зажигания (трамблер) ГАЗ-53
- Установка привода трамблёра ГАЗ-53, ГАЗ-3307, ГАЗ-66 - видео
Инструкция по настройке зажигания. Причиной перегрева мотора и падения его мощности может быть позднее зажигание. Это может проявляться хлопками во впускном коллекторе. Поэтому нужно знать, как установить правильно зажигание.Система зажигания ГАЗ-53, ГАЗ-3307 — батарейная, бесконтактная транзисторная с напряжением в первичной цепи 12В, состоит из источников электрического тока, катушки зажигания, добавочного резистора, коммутатора, распределителя зажигания, свечей зажигания, наконечников свечей, выключателя зажигания и проводов низкого и высокого напряжения. Установка выполняется по меткам следующим образом: 1. Сначала нужно поршень на первом цилиндре выставить в ВМТ и совместить метку указателя установки с меткой на шкиве коленчатого вала. 2. Далее коленвал нужно поворачивать против движения часовой стрелки до совпадения риски 9 на указателе и метки на его шкив
3. Затем нужно ослабить болт верхней пластины корректора, благодаря которому она крепится к прерывателю. 4. Далее нужно подключить один провод контрольки к кузову авто (массе) и второй к клемме прерывателя. После включения зажигания прерыватель следует медленно поворачивать до момента, как засветится контролька. Это говорит о том, что контакты начали размыкаться. 5. Теперь нужно затянуть крепежный болт прерывателя и установить крышку и ротор. На участке, противоположном тому, на котором устанавливалась пластина ротора, нужно присоединить высоковольтный провод к свече на 1-м цилиндре. Оставшиеся провода присоединяются к свечам цилиндров, согласно порядка, в котором они работают: 1-5-4-2-6-3-7-8.
Выставлять момент зажигания ГАЗ-53 нужно точно, так как при отклонениях падает мощность мотора и повышается расход топлива. Кроме того, возможно прогорание клапанов, поршней, пробои в прокладке ГБЦ и другие неполадки, связанные с детонацией. Поэтому окончательная регулировка выполняется на работающем двигателе, который прогревается до температуры ОЖ в пределах 80 — 90 градусов. При работающем на холостых оборотах двигателе нужно гаечным ключом на «10» ослабить крепеж трамблера, чтобы его можно было провернуть. Слегка провернув трамблер против хода часовой стрелки, затягиваем болт крепления. Нажимая на газ, как работает силовой агрегат. Если слышен «звон пальцев», то есть возникает детонация, проворачиваем трамблер по часовой стрелке в обратном направлении. Путем проб и ошибок устанавливаем нужный угол опережения. Проверка делается на движущемся транспортном средстве. При стабильной работе силового агрегата настройка больше не нужна. Порой трамблер отодвинут в крайнее положение, а регулировки не хватило. В этом случае нужно проконтролировать положение привода трамблера относительно двигателя. Выполняется проверка на неработающем моторе: 1. Сначала выставляются метки на переднем шкиве коленвала. Они должны совпадать на 1-м и 6-м цилиндрах. Чтобы не совершить ошибку, лучше снять крышку клапанов с первых 4-х цилиндров и проверить клапана. При правильном положении меток клапана в 1-м цилиндре будут свободными. 2. Сняв трамблер осматриваем, как установлен привод. Если он расположен параллельно мотору, то необходима его замена или ремонт, регулировка, в этом случае, не поможет. 3. Если положение привода неправильное, нужно открутить гайку крепления и снять деталь. 4. После того, как привод будет полностью установлен на свое место, нужно проверить, чтобы канавка под трамблер шла параллельно ДВС (по ходу движения машины), а небольшой участок втулки на трамблере смотрел на 4-й и 8-й цилиндры (в сторону водителя). Опытным путем нужно добиться правильного положения привода распределителя. Следует выполнять настройку зажигания до тех пор, пока при значительной нагрузке на силовой агрегат двигателя будет появляться лишь небольшая детонация. Если выставлено раннее зажигание, это грозит пробоем прокладки ГБЦ и прогоранием клапанов и поршней. Если искра проскакивает позже, то увеличивается расход горючего, и возможен перегрев мотора. Точная установка выполняется с помощью стробоскопа.
Установка и регулировка зажигания Газ 53, 3307, 66 - видео
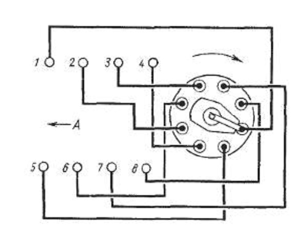
Схема системы зажигания ГАЗ-53, ГАЗ-3307 А — к стартеру; 1 — катушка зажигания; 2 — первичная обмотка; 3 — вторичная обмотка; 4 — аккумуляторная батарея; 5 — указатель тока; 6 — дополнительное реле стартера; 7 — добавочный резистор; 8 — выключатель зажигания и стартера; 9 — помехоподавительный резистор; 10 — свеча зажигания; 11 — распределитель-датчик; 12 — помехоподавительный резистор бегунка; 13 — обмотка распределителя; 14 — постоянный магнит; 15 — коммутатор; R1— резистор МЛТ-8,2кОм;R2 — резистор МЛТ-1, R3 — резистор МЛТ; R4 — резистор МЛТ-82 кОм; R5 — резистор МЛТ-62 Ом; R6 — резистор МЛТ-200 Ом; R7, R8 — резисторы МЛТ-47кОм;С2 — конденсатор К73-17-250В-0Д; СЗ — конденсатор К73-17-4008-1; С4, С5— конденсаторы К73-17-250В-0.047 мкФ; С6 — конденсатор К50-29-160В-10; С7 — конденсатор КЛ-2-И20-500В-1000; VI — диодыКДЮ2БилиКД4 521А; V2 — диоды КД209А или КД212А; V3 — транзистор КТ 848 А; V4, V5 — транзисторы КТ630Б или КТ653Б; V7 — диод 102Б.
Надежная и экономичная работа двигателя зависит от бесперебойной работы системы зажигания ГАЗ-53. Для устранения радиопомех, вызываемых системой зажигания, провода высокого напряжения имеют распределенное сопротивление, а наконечники свечей— подавительные резисторы.Техническая характеристика системы зажигания автомобилей ГАЗ-53
• Порядок зажигания ГАЗ-53 - 1 — 5 — 4 - 2—6 — 3 -7 — 8 • Тип распределителя зажигания (трамблер) - 24.3706 • Частота вращения валика распределителя в 1 мин с бесперебойным искра-образованием при работе с катушкой зажигания Б116 на трехэлектродный разрядник при искровом промежутке 7 мм, мин-1 - 20 — 2300 • Направление вращения валика распределителя зажигания (трамблер) ГАЗ-53 - по часовой стрелке • Катушка зажигания ГАЗ-53 - Б116 • Свечи зажигания - А11 • Величина искрового промежутка в свечах, мм - 0,8 — 0,95 • Добавочный резистор - 14.3729 • Коммутатор - 13.3734 или 13.3734-01 • Наконечник свечи - 35.3707200 • Сопротивление наконечника, кОм - 4 — 7 Катушка зажигания ГАЗ-53, ГАЗ-3307 (Б 116) служит для преобразования тока низкого напряжения в ток высокого напряжения. Катушка зажигания ГАЗ-53, ГАЗ-3307 (Б 116) представляет собой трансформатор, на железном сердечнике которого намотаны вторичная, а сверху ее первичная обмотки. Сердечник с обмотками установлен в герметичном стальном корпусе, наполненном маслом и закрытом высоковольтной пластмассовой крышкой. Сопротивление обмоток при температуре 15 — 35°С: первичной 0,43 Ом, вторичной 13 000 — 13 400 Ом.Техническое обслуживание зажигания ГАЗ-53
Для предохранения от возможного пробоя пластмассовой крышки катушку необходимо очистить от грязи, пыли и масла, проверить надежность крепления проводов высокого и низкого напряжений. При неработающем двигателе нельзя оставлять включенным зажигание во избежание перегрева катушки, приводящего к выходу ее из строя. Применение других типов катушек зажигания недопустимо. Причинами неисправности катушки зажигания ГАЗ-53, ГАЗ-3307 могут быть: пробой изоляции; междувитковое замыкание; сколы и трещины пластмассовой крышки; прогар крышки, катушки зажигания из-за недосыла высоковольтного провода в гнездо. В обмотках катушки зажигания дефекты чаще всего появляются из-за их перегрева и работе с увеличенными зазорами свечей. Перегрев происходит главным образом при включенном зажигании и незаведенном двигателе. Прежде чем снять катушку зажигания ГАЗ-53, ГАЗ-3307 для замены, следует убедиться в исправности и надежности присоединения проводов к выводам катушки. Проверять катушку следует на специальном стенде совместно с транзисторным коммутатором, добавочным резистором и распределителем. Исправная катушка зажигания ГАЗ-53 должна обеспечивать бесперебойное искрообразование на трехэлектродном игольчатом разряднике с искровым зазором в 7 мм от 20 до 2300 мин"1 валика-распределителя и окружающей температуре 25°С. Если катушка не удовлетворяет этим требованиям, ее следует заменить.Распределитель зажигания (трамблер) ГАЗ-53
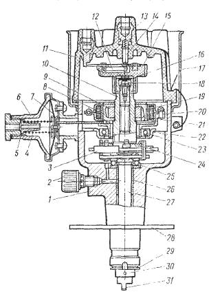
Трамблер автомобилей ГАЗ-53, ГАЗ-3307 (24.3706) (рис.2) представляет собой генератор, который вырабатывает импульсы напряжения для управления транзисторным коммутатором и для распределения импульсов тока высокого напряжения по свечам зажигания. Трамблер ГАЗ-53, ГАЗ-3307 автоматически регулирует момент зажигания в зависимости от оборотов двигателя и от нагрузки. Автоматическая регулировка момента зажигания в зависимости от оборотов осуществляется центробежным регулятором, а от нагрузки - вакуумным автоматом.Распределитель зажигания (трамблер) ГАЗ-53. 1 — корпус; 2 — масленка; 3 — грузик центробежного автомата: 4 — пружина вакуумного автомата; 5 — регулировочная шайба; 6 — вакуумный автомат; 7 — диафрагма; 8 — магнитопровод ротора; 9 — постоянный магнит ротора; 10 — ротор; 11 — крышка; 12 — помехоподавигельный резистор; 13 — центральный вывод; 14 — центральный контакт-резистор; 15 — бегунок; 16 — фильц; 17 — полуэкран; 18 — винт; 19 — обмотка статора; 20 — статор; 21 — магнитопровод обмотки статора; 22—опора статора; 23 — шариковый подшипник; 24 — пружина центробежного автомата; 25 — упорный шариковый подшипник (на части датчиков устанавливается упорная шайба); 26 — втулка; 27 - валик; 28 — октан-корректор; 29 — упорная шайба; 30 — штифт; 31 — шип валика. В корпусе 1 в двух втулках 26 установлен валик 27. На верхней части вала смонтирован центробежный регулятор с ротором 10, на котором установлен магнит 9. На верхней части ротора установлен бегунок 15. В корпусе расположен статор 20, который крепится к опоре 22 с подшипником 23. Сверху корпус закрыт крышкой 11, в которой имеются выводы для проводов высокого напряжения от свечей и катушки зажигания. Вал 27 распределителя зажигания ГАЗ-53, ГАЗ-3307 приводится во вращение от шестерни распределительного вала. Центробежный регулятор опережения зажигания трамблера ГАЗ-53 автоматически изменяет угол опережения зажигания в зависимости от скорости вращения распределительного вала двигателя. Несоответствие углов опережения зажигания числу оборотов обычно бывает связано с заеданием грузиков центробежного регулятора или с ослаблением их пружин и вызывает детонацию, снижение мощности двигателя, а также увеличение расхода топлива. Вакуумный регулятор опережения зажигания ГАЗ-53, ГАЗ-3307 автоматически изменяет угол опережения зажигания в зависимости от нагрузки на двигатель. Ручная регулировка (при установке зажигания) осуществляется поворотом трамблера ГАЗ-53 в корпусе привода. Для поворота необходимо отпустить болт крепления трамблера. Поворот корпуса распределителя зажигания на одно деление шкалы соответствует изменению угла опережения на 4° (по углу поворота коленчатого вала).
Установка привода трамблёра ГАЗ-53, ГАЗ-3307, ГАЗ-66 - видео
Читайте также на сайте:

















