ТНВД ЯМЗ-238
- Содержание:
- Топливный насос высокого давления ЯМЗ 238
- Устройство ТНВД дизеля ЯМЗ-238
- Принцип действия секции ТНВД дизельного двигателя ЯМЗ-238
- Регулятор частоты вращения ТНВД дизеля ЯМЗ-238
- Рабочие регулировки ТНВД ЯМЗ-238
- Демпферная муфта топливного насоса ЯМЗ-238
- Регулятор топливного насоса 238
- Схема установки ТНВД для двигателя ЯМЗ-238
- ТНВД ЯМЗ-238 - видео
Топливоподающая аппаратура двигателя — разделенного типа. Она состоит из топливного насоса высокого давления с всережимным регулятором частоты вращения и встроенным корректором для корректирования подачи топлива, топливоподкачивающим насосом, форсунок, фильтров грубой и тонкой очистки топлива, топливопроводов низкого и высокого давления.Из бака через фильтр грубой очистки топливо засасывается топливоподкачивающим насосом и подается в фильтр тонкой очистки и далее к топливному насосу высокого давления. Топливный насос в соответствии с порядком работы цилиндров подает топливо по топливопроводам высокого давления к форсункам, которые распыляют его в цилиндрах двигателя. Через перепускной клапан в топливном насосе и жиклер в фильтре тонкой очистки излишки топлива, а вместе с ними и попавший в систему воздух отводятся по топливопроводу в топливный бак. Просочившееся в полость пружины форсунки топливо отводится по сливному трубопроводу в бак.
Конструкция топливной системы ЯМЗ-238Топливный насос высокого давления ЯМЗ 238
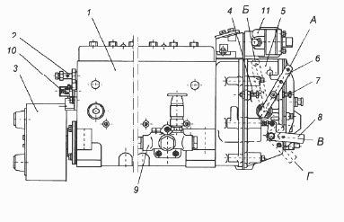
Топливный насос ТНВД дизельного двигателя ЯМЗ-238 автомобилей МАЗ-5516, МАЗ-64229, 6303 и Краз-255, 6510, Краз-65101 в сборе. Насос расположен в развале двигателя между рядами цилиндров и имеет шестеренчатый привод. Топливный насос высокого давления – восьмисекционный, по числу цилиндров двигателя. На двигатели устанавливаются топливные насосы высокого давления различных моделей, имеющие конструктивные и регулировочные отличия.Топливный насос высокого давления модели 1731 – топливный насос высокого давления; 2 – перепускной клапан; 3 – демпферная муфта; 4 – болт ограничения максимальной частоты вращения; 5 – регулятор частоты вращения; 6 – рычаг управления регулятором; 7 – болт ограничения минимальной частоты вращения; 8 – скоба останова; 9 – топливоподкачивающий насос; 10 – болт регулировки пусковой подачи; 11 – корректор подачи топлива по наддуву. А – положение рычага при минимальной частоте вращения холостого хода; Б – положение рычага при максимальной частоте вращения холостого хода; В – положение скобы при работе; Г – положение скобы при выключенной подаче. С топливным насосом в одном агрегате объединены регулятор частоты вращения 5, топливоподкачивающий насос 9 и демпферная муфта 3.
Устройство ТНВД дизеля ЯМЗ-238
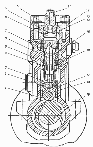
Топливный насос высокого давления ЯМЗ-238 состоит из секций, отдельных насосных элементов, размещенных в общем корпусе. Число секций равно числу цилиндров двигателя.Секция топливного насоса высокого давления ЯМЗ-2381 – корпус насоса; 2 – нижняя тарелка толкателя; 3 – пружина толкателя; 4 – верхняя тарелка толкателя; 5 – втулка поворотная; 6 – плунжер; 7 – втулка плунжера; 8 – седло клапана нагнетательного; 9 – нагнетательный клапан; 10 – упор клапана; 11 – штуцер; 12 – фланец нажимной; 13,14 – прокладки; 15 – корпус секции; 16 – рейка; 17 – толкатель; 18 – ролик толкателя; 19 – вал кулачковый. В корпусе 1 насоса установлены корпуса секций 15 с плунжерными парами, нагнетательными клапанами и штуцерами 11, к которым присоединяются топливопроводы высокого давления. Нагнетательный клапан 9 и седло клапана 8, а также плунжер 6 с втулкой 7 являются прецизионными парами, которые могут заменяться только комплектно. Втулка плунжера стопорится в определенном положении штифтом, запрессованным в корпус секции. Плунжер 6 приводится в движение от кулачкового вала 19 через роликовый толкатель 17. Пружина 3 через нижнюю тарелку 2 постоянно прижимает ролик толкателя к кулачку. От разворота толкатели, имеющие лыски на боковых поверхностях, удерживаются фиксаторами, запрессованными в корпус насоса. Конструкция плунжерной пары позволяет дозировать топливо изменением момента начала и конца подачи. Для изменения количества и момента начала подачи топлива плунжер во втулке поворачивается поворотной втулкой 5, входящей в зацепление с рейкой 16. Регулировка равномерности подачи топлива на максимальном режиме каждой секцией насоса производится разворотом корпуса секции при ослабленных гайках крепления секций. Изменение геометрического начала нагнетания в зависимости от величины подачи (нагрузки двигателя) обеспечивается управляющими кромками, выполненными на торце плунжера.Принцип действия секции ТНВД дизельного двигателя ЯМЗ-238
При движении плунжера 6 вниз под действием пружины 3 топливо под небольшим давлением, создаваемым топливоподкачивающим насосом, поступает через продольный канал в корпусе в надплунжерное пространство. При движении плунжера вверх топливо через нагнетательный клапан поступает в топливопровод высокого давления и перепускается в топливоподводящий канал до тех пор, пока торцовая кромка плунжера не перекроет впускное отверстие втулки. При дальнейшем движении плунжера вверх давление в надплунжерном пространстве резко возрастает. Когда давление достигнет такой величины, что превысит усилие, создаваемое пружиной форсунки, игла форсунки поднимется и начнется процесс впрыскивания топлива в цилиндр двигателя. При дальнейшем движении плунжера вверх отсечные кромки плунжера открывают отсечные отверстия во втулке, что вызывает резкое падение давления топлива в линии нагнетания, посадку иглы форсунки на запирающий конус распылителя и прекращение подачи топлива в камеру сгорания. На внутренней поверхности втулки 7 плунжера имеется кольцевая канавка, а в стенке отверстие для отвода топлива, просочившегося через зазор в плунжерной паре. Уплотнение между втулкой плунжера и корпусом секции, корпусом секции и корпусом насоса осуществляется резиновыми кольцами. Из полости вокруг втулки плунжера просочившееся топливо поступает по пазу на втулке плунжера в полость низкого давления корпуса насоса и далее через перепускной клапан и трубопровод в топливный бак. В нижней части корпуса ТНВД ЯМЗ-238 расположен кулачковый вал. Кулачковый вал вращается в роликовых конических подшипниках и промежуточной опоре. Кулачковый вал установлен с натягом 0,01 – 0,07 мм, который обеспечивается регулировочным и прокладками, установленными между крышкой подшипника и корпусом насоса. Связь секций с регулятором частоты вращения насоса осуществляется через рейку. Рейка перемещается в направляющих втулках, запрессованных в корпусе насоса. На выступающем из насоса конце рейки имеется болт 10, которым она упирается в защитный колпачок при положении рейки перед пуском двигателя. При вывертывании болта из рейки пусковая подача уменьшается. Смазка насоса - централизованная, от масляной системы двигателя. Масло подводится к корректору по наддуву, откуда, сливаясь в полость регулятора, поступает в полость кулачкового вала насоса.Регулятор частоты вращения ТНВД дизеля ЯМЗ-238
Регулятор частоты вращения ТНВД механический всережимный прямого действия с повышающей передачей на привод грузов, предназначен для поддержания заданного водителем скоростного режима работы двигателя путем автоматического изменения количества подаваемого топлива в зависимости от изменения нагрузки на двигатель.Регулятор частоты вращения топливного насоса двигателя ЯМЗ-2381 – корректор подачи топлива по наддуву; 2 – ось двуплечего рычага; 3 – крышка смотрового люка; 4 – пружина регулятора; 5 – двуплечий рычаг; 6 – пружина рычага рейки; 7 – винт двуплечего рычага; 8 – буферная пружина; 9 – корпус буферной пружины; 10 – регулировочный болт; 11 – вал рычага пружины; 12 – отрицательный корректор; 13 – корпус пружины корректора; 14 – пружина отрицательного корректора; 15 – скоба кулисы; 16 – втулка отрицательного корректора; 17 – рычаг регулятора; 18 – рычаг отрицательного корректора; 19 – винт подрегулировки мощности; 20 – рычаг рейки; 21 – кулиса; 22 – пята; 23 – муфта грузов; 24 – грузы регулятора; 25 – державка грузов; 26 – ось грузов; 27 – ведущая шестерня; 28 – сухари; 29 – валик державки грузов; 30 – стакан; 31 – рычаг пружины 32 – тяга рейки; 33 – рейка; 34 – упор. Кроме того, регулятор насоса ограничивает максимальную частоту вращения двигателя и обеспечивает работу двигателя в режиме холостого хода. Регулятор имеет устройство для выключения подачи топлива в любой момент независимо от режима работы двигателя. Автоматически поддерживая скоростной режим при изменяющихся нагрузках, регулятор обеспечивает экономичную работу двигателя.Рабочие регулировки ТНВД ЯМЗ-238
Минимальная частота вращения холостого хода регулируется болтом 7 и корпусом буферной пружины 9; Максимальная частота вращения холостого хода (начало выброса рейки) регулируется болтом 4. Номинальная мощность (подача) регулируется болтом 10, подрегулируется винтом 19. Предварительное натяжение пружины (разность оборотов конца и начала выброса рейки) регулируется винтом 7. Подача топлива при 500 мин-1 регулируется гайкой обратного корректора 12. Предварительное натяжение пружины обратного корректора (обороты начала срабатывания корректора) регулируется корпусом корректора 13. К особенностям регулировки ТНВД следует отнести то, что для обеспечения уменьшенного усилия на рычаге управления рычаг пружины при регулировке частоты вращения начала действия регулятора должен быть максимально приближен к упору в корпусе регулятора, ограничивающему его поворот. Подрегулировку начала действия регулятора производить винтом двуплечего рычага.Демпферная муфта топливного насоса ЯМЗ-238
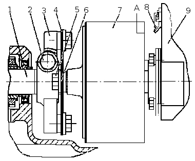
Топливный насос высокого давления комплектуется демпферной муфтой, которая устанавливается на конической поверхности переднего конца кулачкового вала с натягом, создаваемым кольцевой гайкой и фиксируется от проворота шпонкой. Демпферная муфта предназначена для защиты механизмов от разрушения. Она представляет собой неразборную конструкцию со свободно вращающимся маховиком в специальной высоковязкой жидкости. Вмятины на корпусе муфты выводят ее из строя.Регулятор топливного насоса 238
При работе топливного насоса вращение от кулачкового вала 1 передается через упругую муфту 20 и шестерню 21 на валик, на котором жестко закреплена державка грузов 2. Под действием центробежной силы грузы 19 расходятся и перемещают муфту грузов 18. Воздействуя на пяту 17, муфта перемещает вправо рычаг рейки 10, а с ним через тягу 6 и рейку 4. Пружина 5 постоянно воздействует на рычаг 10 и перемещает рейку в сторону максимальной подачи. Необходимый скоростной режим работы дизеля определяется степенью натяжения пружины регулятора 7, которое зависит от положения рычага пружины 3 и устанавливается рычагом управления. Рычаг регулятора 11 крепится в верхней точке вместе с двуплечим рычагом 8, и оба рычага работают как одно целое. На рычаге регулятора 11 устанавливается болт номинальной подачи 13 и корректор 14. При работе дизеля на холостых оборотах рычаг 11 опирается на буферную пружину 12, которая закреплена на крышке смотрового люка 9. Скоба кулисы 15 жестко связана с кулисой 16 для выключения топлива и остановки дизеля.1- кулачковый вал; 2- державка грузов; 3- рычаг пружины; 4- рейка; 5- пружина; 6- тяга рейки; 7- пружина регулятора; 8- двуплечий рычаг; 9- крышка люка; 10- рычаг рейки; 11- рычаг регулятора; 12- буферная пружина; 12- буферная пружина; 13- болт номинальной подачи; 14- корректор; 15- скоба кулисы; 16- кулиса; 17- пята грузов; 18- муфта грузов; 19- грузы; 20- упругая муфта; 21- шестерня; 22- рычаг управления; 23- болт минимальной частоты вращения; 24- болт максимальной частоты вращения; 25- валик; 26- ось качания. СХЕМЫ РАБОТЫ РЕГУЛЯТОРА Пуск дизеля (схема I ). При пуске дизеля перемещение рейки 4 в положение максимальной подачи производится автоматически пружиной 5 ( скоба кулисы регулятора должна быть поднята вверх). После пуска дизеля частота вращения вала увеличивается, грузы 19 под действием сил инерции раскрываются и перемещают муфту грузов 18, упорную пяту 17 вместе с рычагом рейки 10, тягой 6 и рейкой 4 вправо в сторону уменьшения подачи топлива. Упорная пята 17 воздействует на корректор 14 и перемещает рычаг регулятора 11 вправо до упора в буферную пружину 12, которая обеспечивает устойчивую работу дизеля на холостом ходу. Рычаг управления 22 упирается при этом в болт 23, которым регулируется минимальная частота вращения холостого хода.
Работа дизеля под нагрузкой (схема II ). При работе дизеля на номинальной нагрузке рычаг управления 22 поворачивают до упора в болт 24, которым регулируют максимальную частоту вращения холостого хода. Рычаг 3 при этом поворачивается, пружина регулятора 7 натягивается и головка болта 13 упирается в валик рычага 25. На номинальном режиме инерционные усилия раскрытия грузов 19 и суммарное действие пружин 5, 7 и 14 уравновешены в момент начала отрыва головки болта 13 от поверхности валика 25 рычага. При увеличении нагрузки свыше номинальной частота вращения коленчатого вала дизеля падает, раскрытие грузов уменьшается и пружина корректора 14 перемещает пяту 17, рычаг 10 и рейку 4 влево, в сторону увеличения подачи топлива, что приводит к росту крутящего момента на валу дизеля. Если нагрузка падает, частота вращения дизеля увеличивается, грузы 19 раскрываются больше и, растягивая пружины 5 и 7, перемещают рычаги 10, 11 и рейку 4 вправо, в сторону снижения подачи топлива, что приводит к уменьшению крутящего момента, на валу дизеля.
Остановка дизеля (схема III). Выключение подачи топлива и остановка дизеля осуществляются с помощью кулисы 16. С поворотом скобы 15 вниз кулиса 16 поворачивается и перемещает ось 26 качания рычага 10 влево. Верхний конец рычага 10 поворачивается вокруг оси пяты 17, смещается вправо и выдвигает рейку на выключение подачи- дизель останавливается.
![]()
Схема установки ТНВД для двигателя ЯМЗ-238
Установка ТНВД происходит по следующему алгоритму: 1. Ведомая полумуфта (рис. 1, 2) устанавливается на муфту опережения (демпферную муфту) и закрепляется болтами;Рис. 1Рис. 1. Привод топливного насоса высокого давления двигателей ЯМЗ-238БЕ2 и ЯМЗ-238ДЕ2: 1 — ведущая полумуфта; 2 — болт клеммового соединения; 3 — фланец полумуфты; 4 — пластины привода; 5 — болты крепления пластин привода; 6 — шайбы; 7 — демпферная муфта; 8 — указатель; 9 — топливный насос высокого давления; А — метка на демпферной муфте.Рис. 2Рис. 2. Привод топливного насоса высокого давления двигателей ЯМЗ-238БЕ и ЯМЗ-238ДЕ: 1 — вал привода; 2 — пластины привода; 3 — ведущая полумуфта; 4 — болты; 5 — болт клеммового соединения; 6 — болты; 7 — полумуфта ведомая; 8 — муфта опережения впрыскивания топлива; 9 — топливный насос высокого давления; А — метка на муфте; Б — метка на указателе. 2. Поворачиваем муфту так, чтобы бобышки ведомой полумуфты оказались горизонтально, а насечка на торце муфты встала в область указателя; 3. Далее нам понадобится фланец полумуфты привода ТНВД в сборе с ведущей полумуфтой и пакетами пластин на вал привода, при этом выступ «А» на фланце полумуфты будет располагаться слева, если взглянуть со стороны вентилятора на привод; 4. Далее на двигатель устанавливаем топливный насос высокого давления с демпферной муфтой в сборе, фиксируем болтами. Регулируем плоскость пакетов пластин с помощью движения фланца полумуфты по валу привода и только после этого закручиваем стяжной болт привода и устанавливаем угол опережения впрыскивания. Топливный насос должен быть установлен на блок цилиндров двигателя вертикально, при этом болты крепления нужно закручивать равномерно, без завала насоса. Последний момент затяжки болтов крепления насоса 30...40 Нм (3...4 кг/см). Соединяем отделы насоса с форсунками топливопроводами высокого давления в порядке, указанном на рис.3.Рис. 3Рис. 3. Схема соединения топливопроводами высокого давления секций ТНВД и форсунок цилиндров двигателя. 5. Регулируем угол опережения впрыскивания топлива. Оцениваем количество масла в корпусах топливного насоса высокого давления и регулятора. В случае необходимости добавляем масла до уровня отверстия под трубку отвода масла. Стыкуем трубки провода и отвода масла с топливопроводами. Запустив двигатель, регулируем минимальную частоту оборотов холостого хода коленчатого вала таким образом: 1. Ослабляем контргайку и выворачиваем корпус буферной пружины на 2-3 мм. 2. С помощью болта ограничения минимальной частоты вращения (рычаг управления упирается в данный болт) подрегулировать минимальную частоту вращения холостого хода до появления небольших вибраций частоты вращения коленчатого вала двигателя. Когда болт вкручивается, обороты двигателя возрастают, когда выкручиваются — сокращаются. 3. Ввинчиваем корпус буферной пружины до пропадания непостоянства частоты вращения. Строго запрещено ввинчивать корпус до совпадения его торца с торцом контргайки. Завершив регулирование необходимо закрепить болт минимальной частоты вращения и корпус буферной пружины гайками. Минимальная частота вращения холостого хода также регулируется в новом моторе в самом начале его использования. Стоит отметить, что строго запрещено нарушать регулировку максимальных оборотов, произведенную на заводе-изготовителе, без дальнейшего контроля на стенде во время эксплуатации.ТНВД ЯМЗ-238 - видео
Читайте также на сайте:

























