Двигатель СМД-60
- Содержание:
- Технические характеристики СМД-60 и его модификации
- Устройство двигателя СМД-60
- Механизм газораспределения СМД-60
- Регулировка клапанов в двигателе СМД-60/62
- Схема топливной системы двигателя СМД-60
- ТНВД СМД-60 трактора Т-150
- Установка ТНВД на СМД-60
- Коленвал двигателя СМД-60, 62
- Пахота трактором т-150 с двигателем смд 60 - видео
Все модификации тракторов Т-150 оснащаются дизельными шестицилиндровыми четырехтактными наддувными двигателями СМД-60 со 150-сильной номинальной мощностью. Разработаны они специально под эти машины, имеют V-образное размещение цилиндров и жидкостное охлаждение.V-образные 6-цилиндровые дизели выпускаются с 1972 г. Двигатели устанавливаются: СМД-60, СМД-61 - Гусеничные сельскохозяйственные тракторы Т-150, Т-153 и лесохозяйственный трелевочный трактор Т-157. СМД-62, СМД-63 - Колесные сельскохозяйственные тракторы Т-150К, Т-151К и промышленный трактор Т-158. СМД-64, СМД-65 - Зерноуборочный комбайн СК-6 "Колос", машина для уборки столовых корнеплодов МУК- 1,8. СМД-66 - Гусеничный сельскохозяйственный трактор ДТ-175С СМД-72, СМД-73 - Кормоуборочные комбайны КСК-100, КСГ-Ф-70 и кукурузоуборочный комбайн КСКУ-6.
Технические характеристики СМД-60 и его модификации
| Тип двигателя: | |
|---|---|
| СМД-60, -61, -62, -63, -64, -65 | 4-тактный дизель водяного охлаждения с турбонаддувом |
| СМД-66, -72, -73 | 4-тактный дизель водяного охлаждения с турбонаддувом и промежуточным охлаждением наддувочного воздуха |
| Мощность (эксплуатационная), кВт (л.с.): | |
| СМД-60, -61. -64, -65 | 110 (150) |
| СМД-62, -63 | 121 (165) |
| СМД-66 | 125 (170) |
| СМД-72, -73 | 147 (200) |
| Номинальная частота вращения коленчатого вала, мин-1: | |
| СМД-60, -61 | 2000 |
| СМД-62, -63, -72, -73 | 2100 |
| СМД-64, -65, -66 | 1900 |
| Число цилиндров | 6 |
| Расположение цилиндров V-образное, угол развала 90° | |
| Порядок нумерации цилиндров | |
| правый ряд | 1-2-3 |
| левый ряд | 4-5-6 |
| Порядок работы цилиндров | 1-4-2-5-3-6 |
| Диаметр цилиндра, мм | 130 |
| Ход поршня, мм | 115 |
| Топливный насос | 2-плунжерный распределительного типа, с центробежным всережимным регулятором |
| Форсунка | безштифтовая закрытого типа, с фиксированным распылителе |
| Фильтры топливные | грубой и тонкой очистки (со сменными бумажными фильтрующими элементами) |
| Масляный насос: | |
| СМД-60, -61, -62, -64 | 2 -секционный шестеренный |
| СМД-66, -72, -73 | 1 -секционный шестеренный |
| Масляный фильтр | полнопоточная центрифуга и сетчатый фильтр перед турбокомпрессором |
| Система охлаждения | жидкостная принудительная, закрытого типа |
| Вентилятор | 6-лопастный, с приводом от коленчатого вала |
| Система пуска: | |
| СМД-60. -62, -64, -66, -72 | пусковой двигатель с редуктором, приспособленные к дистанционному запуску |
| СМД-61, -63, -65, -73 | электростартер |
| Турбокомпрессор: | |
| СМД-60, -61, -62, -63, -64, -65 | ТКР11Н-1 |
| СМД-66, -72, -73 | ТКР11С-1 |
Устройство двигателя СМД-60
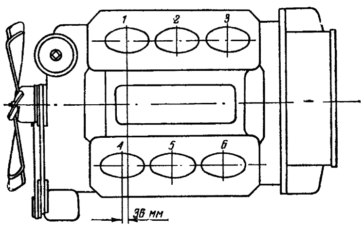
Цилиндры расположены в два ряда под углом 90° и выполнены в общем блоке вместе с верхней частью картера. Левый ряд цилиндров смещен относительно правого на 36 мм, что дало возможность устанавливать два шатуна противолежащих цилиндров на одну шатунную шейку коленчатого вала.
Агрегаты и механизмы на двигателе скомпонованы с учетом использования преимуществ V-образной схемы расположения цилиндров, что обеспечило компактность моторной установки на тракторе Т-150.
В развале цилиндров находятся турбокомпрессор и выпускные коллекторы. Топливный насос НД-22/6Б4 установлен в задней части, имеет привод от механизма газораспределения. Двигатель имеет фильтры предварительной и тонкой очистки дизельного топлива, а для фильтрации масла — полнопоточную центрифугу. Воздухоочиститель — циклонного типа, с автоматическим удалением пыли из пылесборника. Водяной насос — центробежного типа, располагается на передней крышке блок-картера и имеет клиноременной привод от шкива, установленного на носке коленчатого вала.
Пуск дизеля СМД-60 осуществляется одноцилиндровым бензиновым пусковым двигателем П-350 с одноступенчатым редуктором. Для облегчения пуска при низких температурах двигатель оборудован предпусковым подогревателем. На двигателе установлен генератор переменного тока.
Механизм газораспределения СМД-60
Расположение деталей механизма газораспределения отличается от широко распространенной схемы для рядных двигателей. Особенность состоит в том, что шестерни привода распределительного вала и топливного насоса НД-22/6Б4 находятся со стороны маховика. Распределительный вал расположен по центру блок-картера и является общим для клапанов правого и левого ряда цилиндров. Вращается в четырех опорах, расточенных в блок-картере. Задняя опора имеет бронзовую втулку. Изготовлен вал из углеродистой стали 45 селект (С 0.43— 0,45%). Четыре опорные шейки и кулачки для повышения износостойкости закалены токами высокой частоты. По числу клапанов вал имеет двенадцать кулачков: шесть впускных и шесть выпускных. Впускные и выпускные кулачки имеют разные профили. Взаимное расположение кулачков и их профиль определяют порядок работы цилиндров 1—4—2—5—3—6 и фазы газораспределения. На заднем конце распределительного вала болтами закреплен блок шестерен, состоящий из шестерни привода 2 и промежуточной шестерни 3 для привода топливного насоса. Осевое усилие от распределительного вала воспринимается упорным фланцем, который установлен между опорой вала и шестерней.
1 — шестерня коленчатого вала; 2 — шестерня распределительного вала; 3 — шестерня промежуточная; 4 — шестерня привода топливного насоса; 5 — штанга; 6 — винт регулировочный; 7 — коромысло клапана; 8 — гайка контровочная; 9 — пружины клапана; 10 — втулка направляющая; 11 — клапан; 12 — толкатель.
Упорный фланец крепится двумя болтами к блок-картеру. Осевое перемещение вала — 0,16—0,288 мм. При монтаже и демонтаже распределительного вала доступ к болтам крепления фланца осуществляется через отверстие в блоке шестерен.
Установка шестерен в зацеплении производится по меткам. Совпадение меток на шестернях коленчатого и распределительного валов соответствует моменту положения поршня первого цилиндра в ВМТ на ходе сжатия.
Расположение клапанов — верхнее, в один ряд на каждой головке цилиндров. Если смотреть на головку цилиндров сверху, расположение клапанов справа налево следующее: впускные 1—3—5, выпускные 2—4—6. Со стороны нижней плоскости головки цилиндров клапаны легко отличить по размеру тарелки. Диаметр тарелки впускного клапана равен 56, а выпускного — 46 мм. Клапаны двигателя СМД-60 взаимозаменяемые с клапанами двигателей ЯМЗ и АМЗ. Каждый клапан в направляющей втулке поджимается двумя пружинами. В верхней тарелке клапан удерживается двумя коническими сухарями.
Толкатели 12 — цилиндрические, с плоскими донышками, взаимозаменяемые с толкателями двигателя СМД-14.
На каждый цилиндр устанавливается коромысло правое и коромысло левое. Правильность их установки проверяется по совпадению бойка коромысла с торцом клапана. Коромысла установлены на полой оси, закрепленной в трех разрезных стойках. Стойки крепятся к головке цилиндров шпильками, которые одновременно являются фиксаторами осей коромысел от проворота. Коромысла к стойкам поджимаются пружинами, надетыми на оси, а крайние коромысла фиксируются от смещения стопорными кольцами, поставленными в канавки на оси. Усилие затяжки гаек крепления стоек — 6—8 кгс/м. Гайки контрятся замковыми шайбами. Неправильная установка контровочной шайбы приводит к ослаблению крепления стойки, что является одной из причин разрегулировки зазоров в клапанном механизме и даже поломок.
Регулировка клапанов в двигателе СМД-60/62
Регулировка клапанов двигателя СМД-60 (трактора Т-150): сначала устанавливается поршень 1 цилиндра в ВМТ на ходе сжатия. Вращая коленчатый вал при снятых колпаках головок цилиндров, необходимо следить за движением клапанов первого цилиндра; после того как выпускной клапан, а затем впускной откроются, нажимают на указатель ВМТ, находящийся с правой стороны на картере маховика, и продолжают вращать коленчатый вал, пока стержень указателя попадет в лунку на маховике. Коленчатый вал прокручивают при помощи дублирующего механизма пуска.
Снимают лючок на картере маховика, находящийся с правой стороны под топливным фильтром грубой очистки, и под болт устанавливают стрелку, совместив ее конец с риской на маховике, обозначенной «ВМТ».
Освободив стержень указателя ВМТ (под действием пружины он возвращается в первоначальное положение), продолжают поворачивать коленчатый вал по часовой стрелке (примерно на 45°) до совмещения конца стрелки с риской на маховике, отмеченной цифрами «1» и «4».
Щупом проверяют зазор между бойком коромысел и торцом клапанов первого и четвертого цилиндров. Зазор регулируют следующим образом: отпускают ключом контргайку и отверткой устанавливают регулировочный винт в положение требуемой величины зазора; щуп должен плотно входить в зазор. После затяжки контргайки проверяют (рукой) плавность вращения штанги и величину зазора (щупом).
Провернув коленчатый вал на 240° в том же направлении до совпадения метки с цифрами «2» и «5» с концом стрелки, аналогично регулируют зазоры в клапанах второго и пятого цилиндров. Затем, провернув коленчатый вал еще на 240° до совпадения стрелки и метки с цифрами «3» и «6», регулируют зазоры в клапанах третьего и шестого цилиндров.
Следует иметь в виду, что при повороте коленчатого вала от метки «1»—«4» к метке «2»—«5» пропускается метка «3»— «6». Это положение метки «3»—«6» соответствует расположению поршней третьего и шестого цилиндров вблизи ВМТ на такте выпуска, где имеется перекрытие фаз клапанов. Регулировать зазоры в этом положении нельзя. После регулировки клапанов колпаки устанавливают на место. При этом необходимо следить за правильностью установки резиновой прокладки, а также не следует перетягивать гайки крепления колпаков, чтобы избежать появления течи масла из-под колпака.
На двигателях СМД-60 выпуска 1971—1972 гг. метки на маховике расположены с учетом порядка работы цилиндров 1—4—2— 5—3—6 (рис. 40). Зазоры в клапанах регулируются по каждому цилиндру отдельно: в положении ВМТ — в клапанах первого цилиндра, потом проворачивается коленчатый вал до совмещения конца стрелки с меткой «4» и регулируются зазоры в клапанах четвертого цилиндра и затем последовательно в 2—5—3—6 цилиндрах.
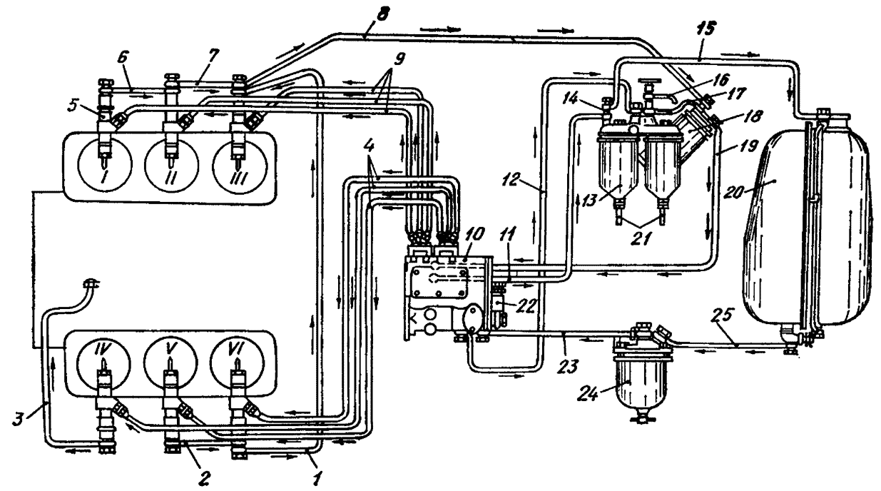
Схема топливной системы двигателя СМД-60
1, 2,- 7,8 — трубки слива избыточного топлива из форсунок; 3 — трубка слива избыточного топлива из четвертой форсунки во впускной патрубок перед турбокомпрессором; 4, 9 — трубки высокого давления; 5 — форсунка; 10 — топливный насос; 11 — трубка от насоса к перепускному клапану; 12 — трубка от подкачивающего насоса к фильтру; 13 — фильтр 2ТФ-3 (первая ступень); 14 — перепускной клапан избыточного топлива в бак; 15 — трубка слива топлива в бак; 16 — трубка слива топлива при прокачке системы; 17 — трубка к фильтр-кронштейну; 18 — фильтр-кронштейн (вторая ступень); 19 — трубка от фильтра к топливному насосу; 20 — топливный бак; 21 — трубки слива топлива из фильтра; 22 — подкачивающий насос: 23 — трубка от фильтра грубой очистки к подкачивающему насосу; 24 — фильтр грубой очистки ФГ-2; 25 — трубка от бака к фильтру грубой очистки.
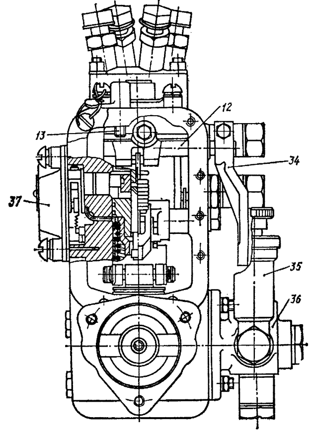
ТНВД СМД-60 трактора Т-150
Топливный насос НД-22/6Б4 в двигателе СМД-60 — двухплунжерный насос высокого давления, распределительного типа, с дозированием топлива, изменением конца подачи, с механическим всережимным регулятором, поршневым подкачивающим насосом и насосом ручной прокачки топлива. Снабжен автоматической муфтой для изменения угла опережения впрыска. Насос обеспечивает короткий впрыск топлива, автоматическое увеличение цикловой подачи топлива на пусковых оборотах и заданный запас крутящего момента при перегрузке двигателя СМД-60. Направление вращения вала насоса — правое. Насос крепится к проставке картера маховика двигателя четырьмя шпильками посредством фланца.
1 — корпус привода тахоспидометра; 2 — ступица грузов; 3 — груз регулятора; 4 — рычаг корректора; 5 — корпус корректора; 6 — шток корректора; 7 — пружина; 8 — винт корректора; 9 — винт-ограничитель; 10 — пружина регулятора; 11 — рычаг вильчатый; 12 — валик рычага управления; 13 — винт регулировки оборотов; 14 — винт «Стоп»; 15 — вал регулятора; 16 — промежуточная шестерня; 17 — головка секции высокого давления; 18 — штуцер высокого давленая; 19 — уплотнительное кольцо; 19 - гайка соединительная; 20 — втулка плунжера: 21 — дозатор; 22 — плунжер; 23 — уплотнительное кольцо; 24 — зубчатая втулка; 25 — пружина толкателя; 26 —- тарелка пружины; 27 — толкатель; 28 — кулачковый вал; 29 — штифт; 30 — демпферная пружина; 31 — эксцентриковый вал; 32 — шайба блокировки вала регулятора; 33 — крышка подшипника; 34 - рычаг управления насосом; 35 — -насос ручной прокачки; 36 — подкачивающий насос; 37 — боновая крышка.
Автомат изменения угла установлен на переднем носке кулачкового вала насоса. К задней стенке корпуса насоса двумя шпильками крепится корпус привода тахоспидометра, к фланцу которого присоединяется редуктор тахоспидометра. Привод редуктора тахоспидометра осуществляется поводком, укрепленным на заднем конце эксцентрикового вала привода подкачивающего насоса.
На тракторах Т-150 и Т-150К устанавливаются разные редукторы тахоспидометра, поскольку не одинакова номинальная частота вращения коленчатого вала двигателей СМД-60 и СМД-62. На насосе двигателя СМД-60 установлен редуктор тахоспидометра ПТ-3802000С, а на насосе двигателя СМД-62 — ПТ-3802000У. Обозначение привода, направление вращения и номинальное число оборотов двигателя набиты на фланце корпуса редуктора. Например, обозначение привода для двигателя СМД-62: ПТ-3802000У 2100ПР.
Смазка топливного насоса — автономная. На двигателях, изготовленных до сентября 1973 г., топливные насосы имеют циркуляционную смазку. При этом варианте смазка в насос подается по трубке, которая одним концом подсоединена штуцером к опоре шестерни 1 вместо болта (заглушки) 2, а вторым концом — к месту, где устанавливается сапун. Масло из насоса сливается в полость проставки 12 через зазор в месте выхода носка кулачкового вала. В этом исполнении сальник 15 не устанавливается, крышка подшипника имеет другую конструкцию.
Установка ТНВД на СМД-60
1. Установить поршень первого цилиндра в положение ВМТ такта сжатия. 2. Установить текстолитовую шайбу на кулачки шестерни привода, проверив наличие пружины. 3. Полу муфту автомата опережения установить кулачками в вертикально устойчивое положение (кулачок с меткой должен быть вверху) и в этом положении установить насос. Кулачки полумуфты должны войти в отверстия текстолитовой шайбы. 4. Совместить метку на фланце топливного насоса НД-22/6Б4 двигателя СМД-60 с делением на лимбе проставки в положении, которое было до снятия насоса. 5. Закрепить насос гайками к проставке и присоединить топливные трубки и тягу управления насосом. Если насос НД-22/6Б4 подвергался разборке и регулировке, проверить угол начала подачи топлива насосом с помощью мениска.
Расположение штуцеров на головке топливного насоса НД-22/6Б4 двигателя СМД-60 на тракторе Т-150
ВНИМАНИЕ! Неправильное подсоединение трубок высокого давления, а также установка насоса не в такте сжатия первого цилиндра приводит к обгоранию кромок камеры сгорания поршня и выходу двигателя из строя.
Коленвал двигателя СМД-60, 62
Коленчатый вал Т-150 — стальной, штампованный, имеет четыре коренных и три шатунных шейки. Шатунные шейки расположены под углом 2,04 рад (120°). Коленчатые валы изготовляются и устанавливаются на дизеле двух производственных размеров (номиналов).
Для улучшения очистки масла, а следовательно, и уменьшения износа шатунных подшипников в шатунных шейках имеются полости 19 для дополнительной центробежной очистки.
Осевое усилие коленвала СМД-60, СМД-62 трактора Т-150 воспринимается четырьмя сталеалюминевым полукольцами 13, установленными в расточке блок-картера и крышки четвертого коренного подшипника.
Щеки вала выполнены заодно с противовесом. Кроме того, еще одни противовес 22 установлен на передней носке коленчатого вала. Здесь же установлена шестерня 2 привода масляного насоса и маслоотражатель 23, закрепленные гайкой с замковой шайбой.
На конусную часть переднего конца коленчатого вала на сегментной шпонке установлен и закреплен храповиком шкив 1 привода компрессора и вентилятора.
На заднем конце коленвала Т-150 двигателей СМД-60, 62 напрессована шестерня 18 привода газораспределения. К торцу заднего конца вала болтами присоединен фланец 16 для установки маховика.
Коленчатый вал динамически балансируется в сборе с шестернями, передним противовесом и технологическими грузами, заменяющими массы шатунно-поршневого комплекта и противовеса, выполненного заодно с маховиком, с точностью 0,007 Нм (70 гс/см).
Пахота трактором т-150 с двигателем смд 60 - видео
Читайте также на сайте:













