Система охлаждения Газель Бизнес 4216 схема
- Содержание:
- Обслуживание системы охлаждения двигателя 4216
- Тюнинг системы охлаждения Газель 4216 евро-4
Для повышения энергетических показателей, улучшения топливной экономичности, снижения токсичности и шума, на базе карбюраторного двигателя УМЗ-421 были разработаны модели с комплексной микропроцессорной системой управления впрыском топлива и зажиганием: двигатель УМЗ-4213 для автомобилей УАЗ и УМЗ-4216 — для автомобилей ГАЗель. Устройство системы охлаждения на УМЗ-4213 и УМЗ-4216 несколько различается, так как имеет отличия в схеме подключения расширительных бачков и радиаторов отопления.Общее устройство системы охлаждения двигателя УМЗ-4216 на автомобилях ГАЗель. Система охлаждения жидкостная, закрытая, с принудительной циркуляцией жидкости и расширительным бачком, с подачей жидкости в блок цилиндров. Включает в себя водяной насос, термостат, водяные рубашки в блоке цилиндров и головке блока цилиндров, радиатор, расширительный бачок, вентилятор, соединительные патрубки, а также радиаторы отопления кузова. Для нормальной работы двигателя УМЗ-4216 температура охлаждающей жидкости должна поддерживаться в пределах плюс 80-90 градусов. Допустима непродолжительная работа двигателя при температуре охлаждающей жидкости 105 градусов. Такой режим может возникнуть в жаркое время года при движении автомобиля с полной нагрузкой на затяжных подъемах или в городских условиях движения с частыми разгонами и остановками.
Система охлаждения двигателя - схема: 1 – радиатор отопителя; 2 – кран отопителя; 4 – головка блока цилиндров; 5 – прокладка; 6 – межцилиндровые каналы для прохода охлаждающей жидкости; 7 – дроссельное устройство; 8 – шланг подвода жидкости к дроссельному устройству; 9 – шланг отвода жидкости от дроссельного устройства; 10 – двухклапанный термостат; 12 – выпускной трубопровод; 13 – пароотводящий патрубок; 13а – патрубок подвода жидкости к расширительному бачку; 14 – пробка; 15 – бачок расширительный; 16 – отметка "min"; 17 – патрубок отвода жидкости от расширительного бачка; 18 – корпус термостата; 19 – насос системы охлаждения; 20 – крыльчатка; 21 – патрубок соединительный; 22 – вентилятор; 23 – радиатор; 24 – сливная пробка радиатора; 25 – впускной трубопровод; 26 – блок цилиндров. Система охлаждения включает насос, термостат, рубашки охлаждения в блоке цилиндров и головке, радиатор, расширительный бачок, вентилятор, соединительные патрубки, а также радиатор отопления кузова. Герметичность системы охлаждения позволяет двигателю работать при температуре охлаждающей жидкости, превышающей плюс 100оС. При повышении температуры свыше допустимой (105оС) срабатывает сигнализатор температуры (лампа красного цвета на панели приборов). При загорании лампы сигнализатора температуры двигатель должен быть остановлен и причина перегрева устранена.
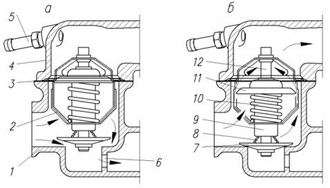
Причинами перегрева могут быть: недостаточное количество охлаждающей жидкости в системе охлаждения, слабое натяжение ремня привода насоса охлаждающей жидкости.Схема работы термостата УМЗ 4216: а – положение клапанов термостата и направление поток охлаждающей жидкости при прогреве двигателя; б – то же после прогрева; 1 – корпус термостата; 2 – термостат; 3 – прокладка; 4 – крышка термостата; 5 – пароотводящий штуцер; 6 – дроссельное отверстие; 7 – нижний клапан; 8 – пружина нижнего клапана; 9 – баллон; 10 – пружина верхнего клапана; 11 – верхний клапан; 12 – шток. Радиатор системы охлаждения двигателя УМЗ-4216. на автомобилях Газель и Соболь изготовлен из латунных плоскоовальных трубок, впаянных в боковые опорные пластины. Между трубками располагаются гофрированные медные охлаждающие пластины. Пластмассовые боковые бачки радиатора плотно прикреплены к опорным пластинам через резиновую уплотнительную прокладку путем обжимки опорной пластины по фланцу пластмассовых бачков. Расширительный бачок системы охлаждения двигателя УМЗ-4216. на автомобилях Газель и Соболь установлен в подкапотном пространстве с левой стороны. Закреплен на боковой панели передка с помощью металлического хомута и нижнего поддерживающего кронштейна. В верхней части бачка имеются две трубки. Одна соединена шлангом с левым бачком радиатора, а другая — с термостатом. В нижней части бачка расположен патрубок, соединенный шлангом с трубопроводом, подводящим охлажденную жидкость от радиатора к двигателю. Расширительный бачок закрыт резьбовой пробкой. Вентилятор пластмассовый, шестилопастный, установлен на ступице электромагнитной муфты вентилятора при помощи четырех болтов. Момент затяжки болтов 12-18 Нм (1,2-1,8 кгсм). Привод вентилятора автономный, включает следующие узлы и детали: дополнительный шкив на коленчатом валу, корпус привода вентилятора со шкивом привода и встроенной в него электромагнитной муфтой отключения вентилятора, узел натяжителя — натяжное устройство ремня привода вентилятора. Включение и выключение электромагнитной муфты осуществляется автоматически.
Обслуживание системы охлаждения двигателя 4216
Периодически проверять уровень жидкости в расширительном бачке. В тех случаях, когда снижение уровня охлаждающей жидкости в расширительном бачке произошло за короткий промежуток времени и или после небольших пробегов (до 500 км), нужно проверить герметичность системы охлаждения и, устранив негерметичность, долить в радиатор или в расширительный бачок ту же охлаждающую жидкость. Через каждые три года или каждые 60000 км (в зависимости от того, что раньше наступит) систему охлаждения нужно промыть и охлаждающую жидкость заменить новой. Периодически проверять натяжение ремней привода вентилятора и привода водяного насоса и генератора. Натяжение ремня привода водяного насоса производиться изменением положения генератора. Контроль натяжения ремней осуществляется пружинным динамометром по величине прогиба ремня при нагрузке 4 кгс. Величина допустимого прогиба ремней 8-10мм.Тюнинг системы охлаждения Газель 4216 евро-4
Воздушная пробка в системе охлаждения – очень опасный дефект. Опасность его заключается в скрытости. Она не прозрачна, поэтому увидеть её невозможно. Понять это можно только по косвенным признакам. Признаки, которые указывают на воздушную пробку: • На прогретом до рабочей температуры двигателе из печки дует холодным (воздушная пробка – это одна из многих причин такого эффекта, так что при появлении подобной проблемы нелишним будет постараться убрать воздушную пробку, а если это не поможет – искать причину дальше). • Закипание ОЖ при небольших показаниях датчика (здесь также воздушная пробка может быть одной из многих других причин). • При температуре двигателя 80° С и выше некоторые патрубки остаются холодными.
Читайте также на сайте:















