Момент затяжки головки блока цилиндров КАМАЗ 740
- Содержание:
- Устройство головки блока цилиндров КАМАЗ 740
- Модификации Камаз-740 и их отличия
- Момент затяжки головки Камаз - видео
Двигатели КамАЗ 740 сконструированы таким образом, что на каждый цилиндр блока установлена своя головка. Соответственно, под каждой ГБЦ КамАЗ располагается отдельная прокладка, обеспечивающая её герметичное прилегание к блоку, а точнее герметичность водяных и масляных каналов.![]()
| Наименование | Условия затяжки |
| Болты крепления головок цилиндров М16 | Перед вворачиванием резьба болтов должна быть смазана тонким слоем графитовой смазки. Болты затягивать в три приема (последовательность указанна на рисунке) крутящим моментом: - первый прием - 39,0...49,0 Нм (4,0...5,0 кгс-м); - второй прием - 98,0...127,0 Н-м (10,0...13,0 кгс-м); - третий прием - 186,0...206,0 Н-м (19,0...21,0 кгс-м) |
| Болты крепления крышек головок цилиндров М8 | Затягивать болты крутящим моментом 12,7...17,6 Н-м (1,3...1,8 кгс-м) |

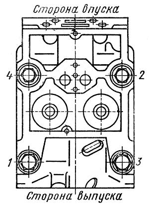
Порядок затяжки ГБЦ Камаз 740
Устройство головки блока цилиндров КАМАЗ 740
1 — клапан выпускной; 2 — седло выпускного клапана; 3 — направляющая втулка выпускного клапана; 4 — пружинная шайба клапана; 5 — наружная пружина клапана; 6 — внутренняя пружина клапана; 7 — втулка тарелки; 8 — сухарь клапана; 9 — болт крепления крышки головки блока цилиндров; 10 — шайба плоская; 11, 25 — шайба; 12 — крышка головки блока цилиндров; 13 — болт крепления головки блока цилиндров; 14 — тарелка пружин клапана; 15 — уплотнительная манжета впускного клапана; 16 — кольцо манжеты; 17 — уплотнительная манжета впускного клапана в сборе; 18 — направляющая втулка впускного клапана; 19 — седло впускного клапана; 20 — клапан впускной; 21 — шпилька крепления патрубка выпускного коллектора; 22 — предохранительная втулка прокладки патрубка; 23 — опора скобы форсунки; 24 — шпилька крепления прижимной скобы форсунки; 26 — шпилька крепления стойки коромысел; 27 — прокладка крышки головки блока цилиндров; 28 — штифт стойки оси коромысел; 29 — ввертыш крепления впускного коллектора; ввертыш крепления водяной трубы; 31 — головка блока цилиндров; 32 — заглушка головки блока цилиндров; 33 — уплотнительное кольцо заглушки; 34 — кольцо уплотнительное газового стыка.
Модификации Камаз-740 и их отличия
1. КАМАЗ-740.10 — атмосферный мотор под нормы Евро-0 мощностью 210 л.с. при 2600 об/мин, крутящий момент 667 Нм при 1600-1800 об/мин. Встречается на КамАЗ-4310, 43101, 54112, 5320, 53212, 5410, 54112, 55102, 55511; Урал-4320; ЗИЛ-133; АГМС. Ресурс мотора — 400 тыс. км. 2. КАМАЗ-740.10-20 — такая же модель, но форсунки 271. Мощность чуть выше — 220 л.с. Этот двс стоит на КамАЗ-43101, 5320, 53213, 5410, 54112, 55102, 55111; Урал-4320; ЗИЛ-133. 3. КАМАЗ-7403.10 — турбомотор на базе 740.10, с поршнями под степень сжатия 16 (больше камера сгорания), со своими поршневыми пальцами, с другой впускной системой, ТНВД 334, форсунками 271, а так же с турбинами ТКР 7Н1К. Распредвал остался старый. Мотор соответствует нормам Евро-0, а его ресурс 400 тыс. км. Мощность 260 л.с. при 2600 об/мин, момент 834 Нм при 1600-1800 об/мин. Устанавливался на КАМАЗ-43101, 43114, 43115, 43118, 54112, 5320, 53212, 5315, 53229, 5325, 5415, 5425; ГАЗ-5903; ЛиАЗ-5256. 4. КАМАЗ-740.11-240 — турбодизель под Евро-1 с ТНВД ЯЗДА 337-40, форсунками 273-31, со степенью сжатия 16.5 и мощностью 240 л.с. при 2200 об/мин, крутящий момент 834 Нм при 1400 об/мин. Ресурс увеличен до 800 тыс. км. Мотор не имеет интеркулера. Стоит этот дизель на КамАЗ-4306, 43114, 43118, 43253, 4326, 43501, 4925, 53215, 54115, 55111; НефАЗ-5297, 5299. 5. КАМАЗ-740.13-260 — аналог 740.11-240 с ЯЗДА 337-42 и форсунками 273-20, мощность увеличена до 260 л.с. Автомобили с этим мотором: КамАЗ-43114, 43118, 53215, 54115, 65111, 65115. 6. КАМАЗ-740.30-260 — модель под нормы Евро-2. Здесь стоят турбины ТКР 700 с интеркулером, насос ЯЗДА 337-20 и форсунки 273-20. Мощность 260 л.с. при 2200 об/мин, момент 1079 Нм при 1300 об/мин. Стоит на КамАЗ-43118, 5350, 65112, 65115, 65116; НефАЗ-5299. 7. КАМАЗ-740.31-240 — аналог 740.30, но мощность снижена до 240 л.с. Устанавливается на КамАЗ-43114, 43118, 43253, 4326, 4350, 43501, 5297, 53215, 53228, 53229, 53605, 54115, 55111; НефАЗ-5299; ЛиАЗ-5256. 8. КАМАЗ-740.35-400 — версия с коленвалом с ходом поршня 130 мм, что позволило увеличить рабочий объем до 11.76 л, степень сжатия 16.8. Здесь стоят турбины ТКР 700 с интеркулером, ТНВД 337-24, форсунки 274-22, ЭБУ ЭЛАРА 50.3763. Мощность равна 400 л.с. при 2200 об/мин, крутящий момент 1570 Нм при 1400 об/мин. Встречается на КамАЗ-6560. 9. КАМАЗ-740.37-400 — такой же 740.35, но стоит насос Bosch PE8P120A920/5RV, форсунки АЗПИ 216-02, блок управления Bosch MS6.1, а мощность достигает 400 л.с. при 1900 об/мин, момент 1766 Нм при 1300 об/мин. Это мотор для КамАЗ-5460, 65224, 65225. 10. КАМАЗ-740.38-360 — аналог 740.37, но отдача снижена до 360 л.с. при 1900 об/мин, крутящий момент 1569 Нм при 1200-1400 об/мин. 11. КАМАЗ-740.50-360 — мотор Евро-2 с насосом ЯЗДА 337-20, форсунками 273-20, с турбинами ТКР-700 и с интеркулером. Мощность 360 л.с. при 2200 об/мин, момент 1472 Нм при 1400 об/мин. Заявленный ресурс — 800 тыс. км. Найти двс можно на КамАЗ-6350, 63501, 6460, 65115, 6520, 65201, 6522, 65221, 65225; НефАЗ-5299. 12. КАМАЗ-740.51-320 — такой же вариант, но на 320 л.с. при 2200 об/мин, момент 1275 Нм при 1400 об/мин./ Это мотор для КамАЗ-6520 и 6522. 13. КАМАЗ-740.52-260 — версия на 260 л.с. 14. КАМАЗ-740.53-290 — модель на 290 л.с. 15. КАМАЗ-740.55-300 — модификация на 300 л.с. для КамАЗ-43118. 16. КАМАЗ-740.60-360 — Евро-3 модификация с электронным ТНВД ЯЗДА 337-23, форсунками 274-20, турбокомпрессорами ТКР-700 и ЭБУ ЭЛАРА 50.3763. Мотор стал развивать 360 л.с. при 1900 об/мин, крутящий момент 1570 Нм при 1300 об/мин. Ресурс по-прежнему 800 тыс. км. Устанавливается на КамАЗ-6520 и 65201. 17. КАМАЗ-740.61-320 — аналог вышеописанного движка на 320 л.с. для КамАЗ-6520. Здесь применен насос 337-23.01. 18. КАМАЗ-740.62-280 — турбодизель на 280 л.с., который отличается насосом 337-23.02. Встретить этот двс можно на КамАЗ-5297, 53605, 65111, 65115, 65116, 6540; НефАЗ-4208, 5299. 19. КАМАЗ-740.63-400 — 400-сильная версия под Евро-3 для КамАЗ-6460, 6520 и 65225. Здесь стоят форсунки АЗПИ 216 и электроника Bosch (насос PE8P120A920/5RV, ЭБУ MS 6.1). 20. КАМАЗ-740.64-420 — Евро-3 модель на 420 л.с. для КамАЗ-5460 и ЛиАЗ-5256. 21. КАМАЗ-740.65-240 — модификация на 240 л.с. для экологического класса Евро-3. Здесь стоит насос ЯЗДА 337-23.03/04, форсунки 274-40/41 и блок управления ЭЛАРА 50.3763. Стоит на КамАЗ-5297 и НефАЗ-5299. 22. КАМАЗ-740.602-360 — модель под экологический класс 4 (правила 96-02) с впрыском Common rail. ДВС показывает 360 л.с., а его ресурс обозначен как 450 тыс. км. 23. КАМАЗ-740.612-320 — аналог 740.602 на 320 л.с. 24. КАМАЗ-740.622-280 — вариация на 280 л.с. для КамАЗ-65111; НефАЗ-4208, 5633, 6606. 25. КАМАЗ-740.632-400 — модель на 400 л.с. 26. КАМАЗ-740.642-420 — топовая модель этой серии, которая развивает 420 л.с. 27. КАМАЗ-740.652-260 — версия на 260 л.с. для НефАЗ-42111 и АЦ-3,0-40. 28. КАМАЗ-740.662-300 — 300-сильная модель для НефАЗ-5633 и 6606. 29. КАМАЗ-740.70-280 — аналог 740.602, но имеет scr-катализатор и соответствует нормам Евро-4. Ресурс увеличен до 1 млн. км. 30. КАМАЗ-740.71-320 — такой же дизель, но мощность увеличена до 320 л.с. 31. КАМАЗ-740.72-360 — еще более мощная модель — 360 л.с. 32. КАМАЗ-740.73-400 — версия мощностью 400 л.с. для КамАЗ-6460. 33. КАМАЗ-740.74-420 — аналог на 420 л.с. 34. КАМАЗ-740.75-440 — наиболее мощный из Евро-4 линейки — 440 л.с. 35. КАМАЗ-740.705-300 — Евро-5 версия мощностью 300 л.с. 36. КАМАЗ-740.725-360 — такая же версия под 5-й экологический класс на 360 л.с. 37. КАМАЗ-740.735-400 — версия мощностью 400 л.с. 38. КАМАЗ-7409 — газодизельный мотор для КАМАЗ-5320.Момент затяжки головки Камаз - видео
Читайте также на сайте:












