Военные мосты УАЗ
- Содержание:
- Разновидности
- Устройство моста
- Особенности
- Чем отличаются военные мосты от колхозных?
- Плюсы военного моста УАЗ
- Минусы военного моста
- Отзывы владельцев
- О проблеме расхода и не только глазами автовладельцев
- На бездорожье
- Цена
- Схема (устройства) военного моста
- Уаз на военных мостах - видео
Наверняка в продаже вы встречали автомобили УАЗ, где автовладельцы с гордостью говорили про военные мосты, делая наценку в несколько тысяч рублей. Эта тема обсуждалась не раз. Одни говорят, что такие автомобили достойны внимания, другие же, напротив, предпочитают ездить на гражданских мостах. Что собой они представляют и каковы их отличия? Попробуем разобраться.![]()
Разновидности
На автомобилях производства УАЗ используется два типа механизмов – с одноступенчатой главной, а также с бортовой передачей. Первый задний мост (УАЗ) военный устанавливается на автомобили вагонной компоновки, второй – на грузопассажирскую модель 3151 (проще говоря, «Бобик»). Ведущие механизмы имеют П-образную конструкцию и устанавливаются вместе с карданными валами. Однако монтаж таких элементов на автомобили вагонной компоновки (типа «головастика») требует значительных технических доработок. Это касается конструкции подвески, тяги сошки, мостов. Также для полноценной работы необходим укороченный на сантиметр карданный вал.Что касается элементов с бортовой передачей, они имеют отличия в средней части, а именно – меньший дифференциал военного моста. УАЗ с таким механизмом также отличается другим способом установки шестерни главной передачи. Отличий тут немного. Он всего лишь монтируется на роликовые конические подшипники. УАЗ, военный мост которого считается более выносливым, имеет более сложную конструкцию по сравнению с гражданским аналогом. Между ведущей шестерней и кольцом большого подшипника есть регулировочное кольцо, а также распорная втулка и прокладки. Подшипники ведущих шестерен зажимаются гайкой крепления фланцев.
Устройство моста
Где расположены бортовые передачи? На автомобилях УАЗ-469, военные мосты которого находятся сзади, сама передача расположена в картерах, где на наружные части кожухов полуосей напрессованы горловины. Ведущие шестерни монтируются на шлицевом конце полуоси, между роликовым и шариковым подшипником. Последний крепится при помощи стопорного кольца в картере. Между шариковым подшипником и картером бортовой передачи имеется специальный маслоотражатель. Роликовый механизм закреплен в корпусе на двух болтах. Внутреннее кольцо подшипника крепится на полуоси при помощи стопорного кольца. Ведомая шестерня крепится к фланцу бортовой передачи. На втулку и подшипник опирается ведомый вал. Кстати, последний имеет левую резьбу. Ведомые валы задней бортовой передачи соединяются со ступицей колес при помощи шлицевых фланцев.Картер передачи отливается вместе с корпусом поворотной цапфы. Ведущая шестерня монтируется на шлице ведомого кулачка между роликовыми и шариковыми подшипниками (воспринимают осевые нагрузки шарнира).
Особенности
На такие автомобили, как УАЗ «Буханка», «Фермер», а также длинные модификации модели 3151, устанавливаются гражданские мосты (в простонародье «колхозные»). Однако на некоторые «бобики» монтируются военные аналоги. Это новые модели с индексом 316, 3159 и модификация «Барс», которая отличается увеличенной колеей. Но вследствие такого решения мосты (УАЗ) военные здесь не простые – они удлиненные, редукторные, с модифицированным «чулком».Чем отличаются военные мосты от колхозных?
В первую очередь такой мост отличается от гражданского наличием бортовых редукторов. Благодаря этому клиренс автомобиля увеличивается на 8 сантиметров (то есть редуктор расположен выше стандартного). Главная пара отличается меньшим количеством зубьев, но при этом они большего размера. Такая конструкция существенно повышает надежность. Передаточное число военных мостов 5,38 (=2,77*1,94 — передаточные числа соответственно главной и бортовой передач) — более «тяговитое», но менее «скоростное», чем у обычных мостов.Машина становится более тяговитой на подьемы, способна легко таскать на себе (или за собой – на прицепе) тяжелые грузы. Однако данный механизм не рассчитан на скорость. Так называемые «колхозные» мосты - более скоростные, нежели их военные аналоги. Ну и, конечно же, отличия касаются карданного вала. Если это мосты (УАЗ) военные, длина данного элемента у них на 1 сантиметр короче. Поэтому при замене или ремонте вала необходимо уточнять мост, под который он рассчитан. Рекомендуемый размер колес – 215 на 90 диаметром 15 дюймов.
Плюсы военного моста УАЗ
Итак, первый плюс – это дорожный просвет. Он, в отличие от гражданских моделей, составляет 30 сантиметров. «Колхозные» УАЗики имеют клиренс в 22 сантиметра. Второй плюс – увеличенный крутящий момент. Это огромный плюс, если вы собираетесь перевозить крупные грузы или таскать за собой прицеп. Благодаря большому размеру зубьев они не стираются так часто, как на гражданских (касается главной пары). Также мосты (УАЗ) военные отличаются более равномерным распределением нагрузки между бортовой и главной передачей. Ну и последнее, чем может похвастаться обладатель таких мостов, так это наличием дифференциала повышенного трения. Познается это при езде на бездорожье (собственно, для него УАЗ и предназначался). Если машина застряла в грязи лишь одной стороной, у вас не будет пробуксовки, как на гражданских мостах (левое колесо двигается, а правое – нет).![]()
Минусы военного моста
Сейчас мы перечислим недостатки данного механизма, из-за которых и возникают споры между «уазоводами». Первый недостаток – это увеличенная масса. Гражданские мосты – более легкие, а потому и расход топлива меньше. Также в их конструкции меньше сложных деталей, поэтому «колхозник» более ремонтопригоден. Да и запчасти на «вояку» найти труднее (тот же редуктор военного моста). УАЗ с гражданским мостом более комфортный в езде и скоростной. Также из-за применения в военных аналогах прямозубых передач работа такой конструкции более шумная. Также на гражданские можно установить пружинную подвеску и дисковые тормоза. На военные мосты (УАЗ-469 в том числе) поставить все это невозможно. Как ни странно, но в обслуживании более неприхотливые именно гражданские механизмы. Взять хотя бы масло – у военных мостов количество точек смазки гораздо больше.![]()
Отзывы владельцев
Некоторые автомобилисты в ответ на утверждение «военные мосты лучше гражданских» соглашаются лишь на 50 процентов. Что касается увеличенного клиренса, то эти сантиметры не дают большого преимущества. Те, кому нужно, лифтуют подвеску и устанавливают более «злые» колеса. В результате дорожный просвет можно увеличить в 1,5-2 раза – все зависит от желания и умений автовладельца. Также водители жалуются на повышенный шум. Все-таки армейские мосты дают о себе знать, даже если машина используется для гражданских целей. И порой, чтобы доехать до места назначения (охота или рыбалка), приходится несколько часов слушать эту «мелодию». Особенно это заметно на асфальтовом покрытии. Для многих важен расход и динамика – с военными мостами вы можете просто забыть об этих двух факторах. Отзывы автовладельцев говорят, что машина с трудом набирает скорость больше 60 километров в час, при этом расход топлива увеличивается на 10-15 процентов. Что касается обслуживания, отзывы отмечают проблему утечки масла. Она начинается у бортовых редукторов. Поэтому совет для тех, кто собирается брать УАЗик: сразу производите замену масла. Об этой, казалось бы, простой операции, никто никогда не задумывался. Люди покупают эту машину и даже не задумываются о том, что периодически нужно менять масло в моторе и КПП, не говоря уже о мостах. Конечно, это военная машина и ее очень трудно «убить», но если кататься 10 лет на одном масле в редукторе, машина вряд ли вам скажет спасибо. Что касается проходимости, отзывы отмечают особую конструкцию военных мостов. Они выполнены в форме лыжи. Поэтому, чтобы застрять на военных мостах, нужно хорошо постараться. Да и по ресурсу они более выносливые, за счет применения других зубьев. Также отзывы отмечают отсутствие блокировок. Нельзя поставить дисковые тормоза на УАЗ-469. Военные мосты их «не переваривают». Но, наряду с этим, имеется возможность установки колес более 30 дюймов. Если используются гражданские мосты, приходится усиливать шарниры равных угловых скоростей, полуоси и главную пару.О проблеме расхода и не только глазами автовладельцев
Касаемо шума: судя по отзывам, это весьма субъективное мнение. Кто-то ругает военные мосты за шумность, а для кого-то это не имеет значения – «как шумели раньше, так и сейчас». Относительно расхода топлива – при правильно отрегулированной системе впуска такой УАЗик будет потреблять максимум на 1,5 литра больше своего гражданского собрата. Кроме этого, некоторые автовладельцы отмечают отсутствие запчастей, так как военные мосты не производят уже несколько десятков лет. Если и удастся что-то найти, то только на разборке, и не факт, что найденное будет в хорошем состоянии. С другой стороны, мост – это не «расходник», как фильтр, резина и масло. И покупать шестерни и другие запчасти к нему приходится далеко не каждый день.На бездорожье
Если у вас в приоритете оффоруд, однозначно лучше ставить военный мост. Но если вы часто ездите по нормальному асфальтированному покрытию, для таких целей однозначно выбирают гражданские. Ведь не зря на все милицейские «бобики» ставят «колхозные» мосты. В городской черте в приоритете комфорт и динамика. Заключение Таким образом, тип моста определяется дальнейшим назначением машины – будет она ездить просто на охоту и рыбалку либо подготавливаться для полноценного оффроуда. Но стоит отметить, что даже гражданский УАЗик на «стоковой» резине способен пробраться и сквозь брод. Но на повседневной использовать эту возможность не стоит: даже на гражданских мостах чувствуются "военные отголоски" - рамная конструкция, жесткая рессорная подвеска. Итак, мы выяснили, как устроены мосты (УАЗ) военные, в чем их преимущества и недостатки по сравнению с гражданскими. Как видите, нужно изначально знать, для каких целей он будет использоваться.Цена
Ценник, мягко сказать, очень серьезный — если брать новые, производства «Барс» (отличные, кстати мосты российского производства), то покупка полного нового комплекта (перед и зад) обойдется в 140000 рублей. Плюс еще и установка выльется в приличную сумму. Они отличаются от обычных более широкой колеёй (1600мм), а также тем, что передний мост у них идет под пружины. Как отмечает народ, на таких мостах ехать помягче будет, комфортнее. А потому лучше уж сразу искать автомобиль на вояках, благо объявлений на Авито более чем достаточно. Там же можно найти и просто мосты по 30-50к рублей, тут уж нужно смотреть состояние, можно взять и подешевле, в отличном состоянии с консервации, а можно и подороже, ржавые. Все равно при установке их нужно будет настраивать, перебирать. По работам — за установку 1 моста ценник 5-7 тысяч рублей.Схема (устройства) военного моста
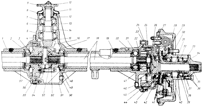
Ведущие мосты с бортовыми передачами. Средняя часть ведущих мостов с бортовыми передачами отличается от вышеописанных мостов меньшими размерами дифференциала и консольной установкой ведущей шестерни главной передачи на двух конических роликовых подшипниках 5 и 7 (рис. 1).Рис. 1 Задний мост автомобиля УАЗ-3151. 1 — крышка картера 2 — подшипник дифференциала 3, 13 и 49 — регулировочные прокладки 4 и 23 — уплотнительные прокладки; 5 и 7 подшипники ведущей шестерни, 6 — регулировочное кольцо, 8 и 42 — манжеты, 9 — фланец. 10 — гайка, 11 — грязеотражателъ. 12 — опорная шайба, 14 — распорная втулка, 15 — регулировочное кольцо положения ведущей шестерни, 16 — ведущая шестерня, 17 — сателлит, 18 и 57 — полуоси; 19 — картер бортовой передачи; 20 и 29 — маслоотражатели, 21 — шариковый подшипник, 22 и 26 — стопорные кольца, 24 — крышка картера бортовой передачи, 25 — ро ликовый подшипник, 27 — тормозной щит, 28 — тормозной барабан, 30 — болт крепления колеса, 31 — цапфа, 32 — подшипник ступицы, 33 — прокладка, 34 — стопорная шайба, 35 — ведущий фланец, 36 — гайка и контргайка подшипников ступицы, 37 — упорная шайба подшипника, 38 — втулка; 39 — ведомый вал бортовой передачи, 40 — упорные кольца подшипников, 41 — прокладки; 43 — подшипник ведомого вала, 44 — ведомая шестерня бортовой передачи, 45 — гайка крепления подшипника ведомого вала, 46 и 50 — пробки сливных отверстий, 47 — ведущая шестерня бортовой передачи, 48 и 56 — коробки сателлитов, 51 — картер, 52 — шайба шестерни полуоси, 53 — шестерня полуоси, 54 — ось сателлитов, 55 — ведомая шестерня главной передачи. Между торцом ведущей шестерни и внутренним кольцом большого подшипника установлено регулировочное кольцо 15 ведущей шестерни, а между внутренними кольцами подшипников установлены распорная втулка 14, регулировочное кольцо 6 и регулировочные прокладки 13. Подшипники ведущей шестерни затягивают гайкой 10 крепления фланца. Бортовые передачи заднего ведущего моста расположены в картерах, которые горловинами напрессованы на наружные концы кожухов полуосей и закреплены электрозаклепками. Ведущая шестерня 47 установлена на шлицевом конце полуоси 48 между шариковым 21 и роликовым 25 подшипниками. Шариковый подшипник закреплен стопорным кольцом 22 в картере бортовой передачи. Между картером и шариковым подшипником расположен маслоотражатель 20. Роликовый подшипник установлен в съемном корпусе, который крепится к п риливу картера двумя болтами. Внутренее кольцо роликового подшипника закреплено на полуоси стопорным кольцом 26. Ведомая шестерня 44 бортовой передачи центрируется на буртике ведомого вала 39 и крепится к его фланцу болтами. Ведомый вал опирается на втулку 38 и роликовый подшипник 43, который закреплен на валу гайкой 45, раскерниваемой после затяжки в паз вала. Ведомые валы правых бортовых передач и гайки креплении подшипников имеют левую резьбу. Для отличия гайки с левои резьбой имеют кольцевую канавку, а ведомые валы глухое отверстие диам. 3 мм в торце вала. Со ступицами колес ведомые валы задних бортовых передач соединяются шлицевыми фланцами 35. Бортовые передачи переднего ведущего моста УАЗ расположены в поворотных цапфах (рис. 2 схема моста)
Рис. 2 Поворотная цапфа переднего моста автомобиля УАЗ-3151. 1 — резиновая манжета в металлическом кожухе, 2 — шаровая опора, 3 — шарнир равных угловык скоростей, 4 — прокладки, 5 — пресс-масленка, 6 — шкворень, 7 — накладка шкворня, 8 — корпус поворотной цапфы, 9 — втулка шкворня, 10 — шариковыи подшипник, 11 — ведомыи вал бортовой передачи, 12 — ступица, 13 — воздушный фланец, 14 — муфта, 15 — пружина шарика фиксатора, 16 — защитныи колпак, 17 — болт муфты, 18 — цапфа, 19 — стопорная гаика, 20 — опорная шайба, 21 — ведущая шестерня, 22 — стопорный штифт, 23 — упорная шайба, 24 — манжета, 25 — опорная шайба, 26 — кожух полуоси, 27 — болт ограничения поворота, 28 — упор-ог раничитель поворота колеса, 29 — рычаг поворотной цапфы, I…III, а — то же, что и на рис. 112. Картеры бортовых передач отлиты заодно с корпусами поворотных цапф. Ведущая шестерня установлена на шлицах ведомого кулака шарнира между шариковым и роликовым подшинниками и закреплена вместе с роликовым подшипником гайкой 19, которая после затяжки раскернивается в паз вала. Шариковый подшипник установлен в корпусе новоротной цапфы в обойме с наружным буртиком, воспринимаюшим через подшипник осевые нагрузки шарнира. На наружных концах ведомых валов передних бортовых передач установлены устройства, позволяющие соединять или разъединять по необходимости валы со ступицами передних колес.
Уаз на военных мостах - видео
Читайте также на сайте:




















