Двигатель ЗМЗ 405
- Содержание:
- Характеристики двигателя ЗМЗ-405
- Конструкция ЗМЗ 405
- Привод ГРМ ЗМЗ 405
- Блок цилиндров и коленчатый вал
- Особенности двигателя
- Усовершенствование ГБЦ
- Двигатель ЗМЗ-405: цена
- Неисправности и ремонт двигателя Волга / Газель ЗМЗ-405
- Модификации двигателя ЗМЗ 405
- Неисправности двигателей ЗМЗ 405
- Тюнинг двигателя Волга / Газель ЗМЗ-405
- Обзор двигателя ЗМЗ 405 евро 3 на газель (40524.1000400 ) - видео
- Двигатель ЗМЗ 405, разборка - видео
Семейство бензиновых двигателей ЗМЗ-405 можно по праву считать одним из предметов гордости их производителя – ОАО «Заволжского моторного завода». Высокое качество этих моторов подтверждено годами эксплуатации, и нередко в довольно суровых условиях. 4-цилиндровые, рядные инжекторные двигатели ЗМЗ-405 появились на рынке в 2000 году. Основным потребителем стал ОАО «ГАЗ». Этими двигателями комплектовались автомобили ГАЗ-3111. Впоследствии силовой агрегат неоднократно совершенствовался. Так, после проведения комплексных работ по адаптации, которые были начаты в 2009 году, одной из модификаций 405 семейства - двигателем ЗМЗ-40524.10 - начали комплектовать автомобили Fiat Ducato. В современных условиях устройствами 405 серии комплектуются как легковые автомобили, так и микроавтобусы и легкие грузовики.![]()
Характеристики двигателя ЗМЗ-405
Разработанный на основе ЗМЗ-406.10 двигатель ЗМЗ-405 «Евро-3» обладает такими характеристиками:
| Производство | ЗМЗ |
| Марка двигателя | ЗМЗ-405 |
| Годы выпуска | 2000-наши дни |
| Материал блока цилиндров | чугун |
| Система питания | инжектор |
| Тип | рядный |
| Количество цилиндров | 4 |
| Клапанов на цилиндр | 4 |
| Ход поршня, мм | 86 |
| Диаметр цилиндра, мм | 95.5 |
| Степень сжатия | 9.3 |
| Объем двигателя, куб.см | 2464 |
| Мощность двигателя, л.с./об.мин | 152/5200 |
| Крутящий момент, Нм/об.мин | 211/4200 |
| Топливо | 92 |
| Экологические нормы | Евро 3 |
| Вес двигателя, кг | 193 |
| Расход топлива, л/100 км — город — трасса — смешан. |
13.5 8.8 11.0 |
| Расход масла, гр./1000 км | до 100 |
| Масло в двигатель | 5W-30 5W-40 10W-30 10W-40 15W-40 20W-40 |
| Сколько масла в двигателе | 6 |
| При замене лить, л | 5.4 |
| Замена масла проводится, км | 7000 |
| Рабочая температура двигателя, град. | ~90 |
| Ресурс двигателя, тыс. км — по данным завода — на практике |
150 250+ |
| Тюнинг — потенциал — без потери ресурса |
н.д. до 200 |
| Двигатель устанавливался | ГАЗ 3102 ГАЗ 31105 ГАЗ Газель ГАЗ Соболь |
Конструкция ЗМЗ 405
Двигатель «Заволжского завода» – четырехтактный автомобильный силовой агрегат с рядным расположением цилиндров и поршней. Подача топлива во впускные каналы цилиндров и зажигание управляется электронной системой. Двигатель оснащен системой внешнего образования топливно-воздушной смеси. Возвратно-поступательное движение поршней преобразуется во вращательное посредством одного общего для всех поршней коленчатого вала. Два распределительных вала с верхним расположением. Система охлаждения замкнутого типа, жидкостная с принудительной циркуляцией охладителя. Система смазки 405-го двигателя – комбинированная. Смазывающие материалы подаются к движущимся деталям под давлением путем разбрызгивания.
Рис.1 – Поперечный разрез двигателя ЗМЗ-405. 1 – валик привода масляного насоса; 2 – головка цилиндров; 3 – впускная труба; 4 – крышка клапанов; 5 – указатель уровня масла; 6 – выпускной коллектор; 7 – блок цилиндров; 8 – коленчатый вал; 9 – масляный насос; 10 – масляный картер.
Рис2. – Левая сторона двигателя ЗМЗ-405 автомобилей ГАЗ-3302 Газель Бизнес, ГАЗ-2752 Соболь. 1 – датчик температуры охлаждающей жидкости системы управления; 2 – датчик сигнализатора перегрева охлаждающей жидкости; 3 – датчик сигнализатора аварийного давления масла; 4 – штуцер подсоединения шланга к расширительному бачку; 5 – штуцер подсоединения вакуумного шланга усилителя тормозов; 6 – разъем датчика положения коленчатого вала; 7 – катушки зажигания; 8 – указатель уровня масла; 9 – датчик фазы; 10 – экран выпускного коллектора; 11 – выпускной коллектор; 12 – задний кронштейн подъема двигателя; 13 – картер сцепления; 14 – пробка слива масла; 15 – место подсоединения штуцера шланга слива масла из радиатора; 16 – кронштейн левой опоры двигателя; 17 – пробка слива охлаждающей жидкости.
Рис.3 – Вид двс ЗМЗ-405 спереди. 1 – шкив-демпфер коленчатого вала; 2 – датчик положения коленчатого вала; 3 – автоматическое натяжное устройство; 4 – генератор; 5 – топливная магистраль с форсунками; 6 – штуцер подсоединения шлага от адсорбера; 7 – дроссельный модуль с электроприводом; 8 – шланг малой ветви вентиляции картера; 9 – трубка основной ветви вентиляции картера; 10 – крышка маслоналивного патрубка; 11 – крышка клапанов; 12 – патрубок отвода охлаждающей жидкости в радиатор; 13 – ремень привода агрегатов; 14 – патрубок подвода охлаждающей жидкости из радиатора; 15 – водяной насос с электромагнитной муфтой; 16 – точка крепления провода «–» от кузова автомобиля; 17 – масляный картер.
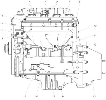
Рис.4 – Правая сторона двс ЗМЗ-405 автомобилей ГАЗ-3302 Газель Бизнес, ГАЗ-2752 Соболь. 1 – патрубок отвода охлаждающей жидкости в отопитель; 2 – патрубок подвода охлаждающей жидкости из отопителя; 3 – датчик детонации; 4 – точка крепления провода «–» КМПСУД и провода «–» с кузова автомобиля; 5 – крышка привода масляного насоса; 6 – ресивер; 7 – впускная труба; 8 – точка крепления провода «–» КМПСУД; 9 – крышка верхнего гидронатяжителя; 10 – передний кронштейн подъема двигателя; 11 – термоклапан; 12 – крышка нижнего гидронатяжителя; 13 – масляный фильтр; 14 – кронштейн правой опоры двигателя; 15 – стартер; 16 – опора вилки выключения сцепления.
Привод ГРМ ЗМЗ 405
Рис.5 – Привод распредвалов двигателя ЗМЗ-405 автомобилей ГАЗ-3302 Газель Бизнес, ГАЗ-2752 Соболь. 1 – звездочка коленчатого вала; 2,8 – рычаг натяжного устройства со звездочкой; 3 – гидронатяжитель нижний; 4 – цепь нижняя; 5 – звездочка промежуточного вала ведомая; 6 – звездочка промежуточного вала ведущая; 7 – опора болта натяжного устройства; 9 – гидронатяжитель верхний; 10 – шумоизоляционная шайба; 11 – цепь верхняя; 12,18 – установочные метки на звездочках; 13,17 – установочные штифты; 14 – звездочка распределительного вала впускных клапанов; 15 – успокоитель цепи верхний; 16 – звездочка распределительного вала выпускных клапанов; 19 – верхняя плоскость головки цилиндров; 20 – успокоитель цепи средний; 21 – успокоитель цепи нижний; М1 и М2 – установочные метки блока цилиндров.
Привод распредвалов цепной, двухступенчатый. Первая ступень – от коленчатого вала на промежуточный вал, вторая ступень – от промежуточного вала на распределительные валы.
Нижняя цепь ГРМ ЗМЗ-405 автомобилей ГАЗ-3302 Газель Бизнес, ГАЗ-2752 Соболь (первой ступени) имеет семьдесят звеньев, а верхняя (второй ступени) – девяносто звеньев.
Звездочки цепных передач выполнены из высокопрочного чугуна, за исключением стальной ведущей звездочки второй ступени на промежуточном валу.
На коленчатом валу расположена ведущая звездочка с 23 зубьями, на промежуточном – ведомая звездочка первой ступени с 38 зубьями и ведущая звездочка второй ступени с 19 зубьями, на распределительных валах – звездочки с 23 зубьями.
На торцах звездочки коленчатого вала, ведомой звездочки промежуточного вала и звездочек распределительных валов имеются установочные метки для правильной установки фаз газораспределения.
Промежуточный вал – стальной, двухопорный, вращается во втулках, запрессованных в отверстия приливов блока цилиндров, справа.
От осевых перемещений промежуточный вал удерживается упорным фланцем, который расположен между торцом передней шейки вала и ступицей ведомой звездочки и закреплен двумя болтами на переднем торце блока цилиндров.
Натяжение цепей обеспечивают два гидронатяжителя ЗМЗ-405 автомобилей ГАЗ-3302 Газель Бизнес, ГАЗ-2752 Соболь, которые воздействуют на правые ветви обеих цепей.
Гидронатяжитель верхней цепи установлен в гнезде головки блока цилиндров, а нижней – в гнезде передней крышки.
Гидронатяжитель стальной, выполнен в виде плунжерной пары, состоящей из корпуса и плунжера.
Гидротолкатель ЗМЗ-405 монтируют на двигатель в «заряженном» состоянии (плунжер удерживается в корпусе стопорным кольцом). В рабочем состоянии гидротолкатель работает следующим образом.
Под действием пружины и давления масла, поступающего из масляной магистрали, плунжер надавливает на рычаг натяжного устройства. Рычаг, поворачиваясь на оси, надавливает звездочкой натяжного устройства на цепь, натягивая ее.
Для предотвращения биений рабочие ветви обоих цепей проходят через пластмассовые успокоители. Каждый успокоитель прикреплен двумя болтами:верхний и средний – к переднему торцу головки блока цилиндров, нижний – к переднему торцу блока цилиндров.
Блок цилиндров и коленчатый вал
Модернизированный блок 405-го двигателя изготовлен из высокопрочного чугуна, что в сочетании с применением высокоточных методов обработки металла при его изготовлении позволило значительно снизить деформацию цилиндров при эксплуатации. В блоке старого образца были предусмотрены прорези в 2 мм между цилиндрами для системы охлаждения. Для блока двигателя ЗМЗ-405 такие прорези не предусмотрены. Кроме этого, были увеличены резьбовые колодцы под болты крепления головки блока цилиндров. Коленчатый вал конструктивно идентичен двигателю ЗМЗ-406, но отлит из высококачественного и более прочного чугуна. Конструкция – полноопорная с двумя противовесами для каждого кривошипа. Усовершенствования позволили улучшить сопротивление центробежным силам и изгибающим моментам.Особенности двигателя
В качестве основы для двигателя был использован карбюраторный ЗМЗ-406. 405-ый стал доработанной инжекторной производной. Современные усовершенствованные двигатели ЗМЗ-405 в полной мере соответствуют установленным стандартам «Евро-3». Они устанавливаются на автомобили марок «ГАЗель», «УАЗ» и «Фиат». Производителем были разработаны и внедрены несколько инновационных конструкторских решений. Так, блок ЗМЗ-405 был облегчен на 1,3 килограмма за счет полного демонтажа системы холостого хода с головки блока. Управление двигателем осуществляется при помощи электронного дросселя. Именно это позволило отказаться от некоторых комплектующих: дроссельный патрубок, регулятор холостого хода, воздушные патрубки холостого хода, датчик положения заслонки.
Усовершенствование ГБЦ
Инженерами производственного предприятия была усовершенствована термоизоляция ЗМЗ-405. Для более надежной герметичности блока цилиндров вместо армированной прокладка головки блока цилиндров из однослойного безасбестового материала была использована двухслойная металлическая. Обновление материала и применение новых конструктивных элементов, в частности зигзагообразных пружинящих частей, обеспечило лучшее уплотнение газового стыка и каналов системы смазки, а также позволило улучшить процесс охлаждения. Толщина прокладки новой конструкции снижена в три раза относительно изначальной мягкой прокладки с металлической окантовкой и составляет всего 0,5 миллиметра. Это позволило минимизировать необходимость выполнения затяжки болтов в сравнении с прежними деталями, что, в свою очередь, дает возможность для уменьшения деформации цилиндров при работе.
В двигателях 405-ой серии «Евро-3» для вспомогательных агрегатов используется удлиненный приводной ремень и самонатяжной ролик. Расчётный срок службы ролика составляет 150 тысяч километров. В двигателях 405-ой серии значительно снижен расход масла и топлива. Эти двигатели соответствуют мировым стандартам и допустимым нормам токсичности, а также характеризуются повышенной надежностью.
Двигатель ЗМЗ-405: цена
Бензиновые двигатели ЗМЗ-405 серии современных модификаций (40524.1000400-100, 101) в заводском производстве ОАО «ЗМЗ» находятся с 2013 года. Из последних усовершенствований можно отметить оптимизированную крышку клапанов, зубчатые цепи газораспределительного механизма и улучшенную систему вентиляции с отводом картерных газов в ресивер. Новые конструктивные изменения позволили создать двигатель, соответствующий не только «Евро-3», но и экологическим меркам «Евро-4».
Новый двигатель ЗМЗ-405, цена которого в дилерских сетях колеблется от 124 до 152 тысяч рублей, с гарантией от завода производителя предназначен для переоборудования автомобилей линейки «ГАЗель Бизнес». Возможность тюнинга ЗМЗ-405 Тюнинг любого двигателя предусматривает, прежде всего, увеличение мощности. В ЗМЗ-405 этого можно достичь тремя основными способами: форсирование, турбирование или установка компрессора.
Неисправности и ремонт двигателя Волга / Газель ЗМЗ-405
Двигатель ЗМЗ-405, разработан на базе 406-го мотора и отличается диаметром поршня (увеличен с 92 до 95.5 мм), высота блока цилиндров одинаковая, межцилиндровые перемычки стали тоньше, появились прорези для охлаждения (на блоке Евро-3 моторов их нет), шатуны остались такие же, В остальном, мотор остался прежним, за счет возросшего объема увеличилась мощность на 7 л.с., подрос крутящий момент, последние движки стали соответствовать экологическим стандартам Евро-3 и больше ничего, все тот же ЗМЗ 406. На этом же блоке был создан еще один большеобъемный мотор — ЗМЗ-409.Модификации двигателя ЗМЗ 405
ЗМЗ 4052.10 — основной мотор. Используется на автомобилях Волга и Газель. ЗМЗ 40522.10 — аналог 4052.10, соответствует экологическим нормам Евро-2. Используется на автомобилях Газель и Волга. ЗМЗ 40524.10 — аналог 40522.10, соответствует экологическим нормам Евро-3. ЗМЗ 40525.10 — аналог 40522.10, соответствует экологическим нормам Евро-3. Используется на грузовых автомобилях Газель. ЗМЗ 4054.10 — турбо версия 405, стальной коленвал, кованая поршневая, интеркулер, СЖ 7.4, мощность 195 л.с./4500 об.мин, момент 343 Нм/об.мин. Производился мелкосерийно, стоил неадекватно дорого, поэтому тюнинговщики предпочитали ставить проверенные Toyota 1JZ / 2JZ.Неисправности двигателей ЗМЗ 405
Неисправности 405-го волговского двигателя абсолютно полюностью повторяют проблемы ЗМЗ-406, все те же проблемы с маслом под клапанной крышкой, ибо их отличия минимальны.Тюнинг двигателя Волга / Газель ЗМЗ-405
Форсирование ЗМЗ 405. Турбина. Компрессор. Варианты увеличения мощности ЗМЗ-405 ничем не отличаются от ЗМЗ-406, о них можно прочитать во вкладке «Тюнинг» вот ТУТ. Стоит заметить, что на волговском/газелевском моторе строить мощные атмосферники, на злых распредвалах, 4-х дросселях не стоит, это пустая трата денег и времени. Самый правильный тюнинг ЗМЗ это турбо. Хорошо собраный турбо 405-й даст более (а иногда и сильно больше) 300 л.с., чего атмосферник не выдаст ни при каких настройках. Стоит отметить, что под постройку турбо корча, блок Евро-2 не годится, он ослаблен прорезями между цилиндрами, ваш выбор более свежие блоки, под Евро-3 (40524.10 и 40525.10).
Обзор двигателя ЗМЗ 405 евро 3 на газель (40524.1000400 ) - видео
Двигатель ЗМЗ 405, разборка - видео
Читайте также на сайте:













