Двигатель ЯМЗ 238
- Содержание:
- Модификации ЯМЗ 238
- Устройство двигателя ЯМЗ-238
- Блок цилиндров, картер, головка цилиндров
- Двигатель ЯМЗ-238 атмосферный технические характеристики
- Двигатель ЯМЗ-238 турбо технические характеристики
- Автомобили, на которые устанавливались ЯМЗ-238
- ТНВД ЯМЗ-238
- Метки тнвд ямз 238
- Почему Советский двигатель ЯМЗ-238 считался лучшим в СССР? - видео
- Камаз 6х6. двигатель ЯМЗ 238 турбо - видео
- Небольшой обзор двигателя ЯМЗ 238 Евро 3 - видео
- Двигатель ЯМЗ-238 учебная разрезная модель в динамике - видео
Мало какой из дизельных моторов может похвастать таким солидным «послужным списком», как ЯМЗ-238. Этот двигатель стал «сердцем» многих тысяч знакомых всем и каждому грузовых автомобилей «МАЗ», «КрАЗ», «Урал»; тракторов «Кировец» и «ЧТЗ»; комбайнов «Дон» и «Полесье». А также большого количества всевозможной узкоспециализированной техники, катеров, дизельных электростанций. ЯМЗ-238 чрезвычайно надёжен и неприхотлив в эксплуатации, что и обеспечило ему «карьеру долгожителя»: запущенный в серию в начале 60-х годов мотор продолжает сходить с конвейера Ярославского моторного завода и сегодня. Несмотря на то, что в ассортименте завода появилось немало более современных его «преемников».Всего в настоящее время в ассортименте завода, изложенном в актуальном официальном прайсе на сайте ЯМЗ, значатся 25 различных модификаций двигателя ЯМЗ-238. Целый ряд турбированных версий (серии ДЕ, для самосвалов и грузовиков, седельных тягачей МАЗ, КрАЗ, «Урал»; тракторов и лесовозов) доработаны до норм Евро-2. Всего же общий список модификаций данного мотора насчитывает 86 позиций.
Модификации ЯМЗ 238
ЯМЗ-238 является наиболее востребованным на рынке дизелем Ярославского моторного завода. В технологическом плане он мало чем отличается от серии шестицилиндровых ЯМЗ-236 (прежде всего – количеством цилиндров, естественно). Мощность базовых версий ЯМЗ-238 варьируется в пределах от 180 л.с. у де-форсированной версии ЯМЗ-238/Г2, до 240 л.с. у модификации ЯМЗ-238/М2. Двигатели ЯМЗ-238/Евро-0 Турбо – это форсированные моторы ЯМЗ-238/М2. Отличаются от обычных «атмосферников» они не только наличием турбины. При разработке данного семейства внесли ряд конструктивных изменений в блок цилиндров и цилиндро-поршневую группу.Переработке также подверглись топливный насос высокого давления и коленчатый вал. В ассортименте завода – модели ЯМЗ-238 с маховиками под установку 2х-дискового или одно-дискового сцеплений; с правосторонними органами управления (по заказу из ЮАР), и прочими конструктивными решениями, для потребностей каждой конкретной техники. Моторы серии ЯМЗ-238/Евро-1 Турбо являются доработанными Евро-0. Особенностями их комплектации является монтаж жидкостно-масляного теплообменника, муфты включения вентилятора и воздуховодов к охладителю наддувочного воздуха, смонтированного непосредственно на двигателе. Двигатели ЯМЗ-238/Евро-2 Турбо, серии ДЕ, стали результатом дальнейшей модернизации турбированных ЯМЗ-238. Моторы данной серии получили модернизированный современный топливный насос высокого давления. ДВС ЯМЗ 238 получил достаточно много модификаций и применяемость на автомобильном ряде. Так, согласно технической документации завода изготовителя, рассмотрим, какой модельный ряд и модификации имеет двигатель «восьмерка»: 235 л.с. (173 кВт) при 1700 об/мин, 1108 Н•м (113 кгс•м) при 1300 об/мин — ЯМЗ-238НД3. 235 л.с. (173 кВт) при 1700 об/мин, 1108 Н•м (113 кгс•м) при 1300 об/мин — ЯМЗ-238НД6. 240 л.с. (177 кВт) при 2100 об/мин, 882 Н*м (90 кгс*м) при 1500 об/мин — ЯМЗ-238 (базовый). 250 л.с. (184 кВт) при 1900 об/мин, 1108 Н•м (113 кгс•м) при 1300 об/мин — ЯМЗ-238НД4. 250 л.с. (184 кВт) при 1900 об/мин, 1108 Н•м (113 кгс•м) при 1300 об/мин — ЯМЗ-238НД7. 280 л.с. (206 кВт) при 2100 об/мин, 1029 Н•м (105 кгс•м) при 1500 об/мин — ЯМЗ-238ПМ. 290 л.с. (184 кВт) при 2000 об/мин, 1128 Н•м (115 кгс•м) при 1400 об/мин — ЯМЗ-238ДК. 300 л.с. (220 кВт) при 1900 об/мин, 1280 Н•м (131 кгс•м) при 1300 об/мин — ЯМЗ-238НД5. 300 л.с. (220 кВт) при 1900 об/ммн, 1280 Н•м (131 кгс•м) при 1300 об/мин — ЯМЗ-238НД8. 320 л.с. (235 кВт) при 2100 об/мин, 1117 Н•м (114 кгс•м) при 1500 об/мин — ЯМЗ-238ФМ. 330 л.с. (243 кВт) при 2000 об/мин, 1225 Н•м (125 кгс•м) при 1400 об/мин — ЯМЗ-238ДК. 330 л.с. (243 кВт) при 2100 об/мин, 1225 Н•м (125 кгс•м) при 1300 об/мин — ЯМЗ-238Д. 330 л.с. (243 кВт) при 2100 об/мин, 1225 Н•м (125 кгс•м) при 1300 об/мин — ЯМЗ-238ДЕ. 330 л.с. (243 кВт) при 2100 об/мин, 1274 Н•м (130 кгс•м) при 1200 об/мин — ЯМЗ-238ДЕ2. 330 л.с. (243 кВт) при 1900 об/мин, 1274 Н•м (130 кгс•м) при 1200 об/мин — ЯМЗ-6582. 360 л.с. (265 кВт) при 1900 об/мин, 1570 Н•м (160 кгс•м) при 1200 об/мин — ЯМЗ-7512. 400 л.с. (294 кВт) при 1900 об/мин, 1715 Н•м (175 кгс•м) при 1200 об/мин — ЯМЗ-7511. 400 л.с. (294 кВт) при 1900 об/мин, 1764 Н•м (180 кгс•м) при 1200 об/мин — ЯМЗ-6581. 420 л.с. (309 кВт) при 1900 об/мин, 1764 Н•м (180 кгс•м) при 1200 об/мин — ЯМЗ-7513.
Устройство двигателя ЯМЗ-238
Восемь цилиндров ЯМЗ-238 расположены в два ряда, по V-образной схеме, под углом в 90 градусов. Впуск топливной смеси и выпуск отработанных газов обеспечивают 16 клапанов.Габариты ЯМЗ 238Блок цилиндров, картер, головка цилиндров
Основанием для монтажа всех узлов и деталей служит блок цилиндров, который отлит из низко-легированного серого чугуна. В приливах-бобышках на стенах блока предусмотрена система масляных каналов, подводящих смазку к подшипникам распределительного и коленчатого валов; к масляному фильтру и к жидкостно/масляному теплообменнику. Вокруг каждого цилиндрового гнезда образован замкнутый силовой пояс стенками водяной рубашки. Вместе со специальными рёбрами, силовой пояс скрепляет вместе верхнюю и нижнюю плиты (части блока цилиндров), придаёт всей конструкции нужную степень жёсткости. В поперечных стенках блока располагаются пять гнёзд с вкладышами под коренные шейки коленвала. А также пять расточек с бронзовыми втулками, в которых вращается распределительный вал.Двигатель ЯМЗ-238 атмосферный технические характеристики
| Объем двигателя, куб.см | 14866 |
| Максимальная мощность, л.с. | 240 |
| Максимальный крутящий момент, Н*м (кг*м) при об./мин. | 883 (90) / 1250 883 (90) / 1500 |
| Используемое топливо | Дизельное топливо |
| Тип двигателя | V-образный, 8-цилиндровый |
| Максимальная мощность, л.с. (кВт) при об./мин. | 240 (177) / 2100 |
| Степень сжатия | 16.5 |
| Диаметр цилиндра, мм | 130 |
| Ход поршня, мм | 140 |
| Количество клапанов на цилиндр | 2 |
Двигатель ЯМЗ-238 турбо технические характеристики
| Объем двигателя, куб.см | 14860 |
| Максимальная мощность, л.с. | 240 |
| Максимальный крутящий момент, Н*м (кг*м) при об./мин. | 883 (90) / 1450 |
| Используемое топливо | Дизельное топливо |
| Расход топлива, л/100 км | 23 |
| Тип двигателя | V-образный, 8-цилиндровый |
| Доп. информация о двигателе | прямой впрыск топлива |
| Максимальная мощность, л.с. (кВт) при об./мин. | 240 (177) / 2100 |
| Степень сжатия | 17.5 |
| Диаметр цилиндра, мм | 130 |
| Ход поршня, мм | 140 |
| Нагнетатель | Турбина |
| Привод клапанов | OHV |
| Количество клапанов на цилиндр | 2 |
Автомобили, на которые устанавливались ЯМЗ-238
МАЗ-500 (1965—1990). ЯМЗ-236 (180 л.с.). МАЗ-503 (1965—1977). ЯМЗ-236 (180 л.с.). МАЗ-504 (1965—1982). ЯМЗ-236 (180 л.с.). МАЗ-509 (1966—1990). ЯМЗ-236 (180 л.с.). МАЗ-516 (1973—1980). ЯМЗ-236 (180 л.с.). МАЗ-5335 (1977—1990). ЯМЗ-236 (180, 300 л.с.). МАЗ-5549 (1977—1990). ЯМЗ-236 (180 л.с.). МАЗ-5551 (с 1985). ЯМЗ-236 (180 л.с.). МАЗ-5432 (с 1981). ЯМЗ-238 (240, 250, 280, 300, 330, 360, 425 л.с.), ЯМЗ-236 (180 л.с.). МАЗ-5516 (с 1995). ЯМЗ-238 (400 л.с.). МАЗ-6422 (с 1978). ЯМЗ-238 (320, 330, 360, 425 л.с.). Урал-4320 (с 1977). ЯМЗ-236 (230 л.с.), ЯМЗ-238 (300 л.с.). КрАЗ-255 (1967—1994). ЯМЗ-238 (240 л.с.). КрАЗ-6443 (с 1992). ЯМЗ-238 (330 л.с.). КрАЗ-6322 (с 1994). ЯМЗ-238 (330 л.с.). Урал-5323 (с 1989). ЯМЗ-238 (300 л.с.). КамАЗ-5320 (1976—2000). ЛиАЗ-5256.30 (2001—2004). ЯМЗ-236НЕ2 (230 л.с.). МАЗ-104.Х25 (2004—2005). ЯМЗ-236НЕ2 (230 л.с.).ТНВД ЯМЗ-238
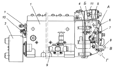
1 – топливный насос высокого давления; 2 – перепускной клапан; 3 – демпферная муфта; 4 – болт ограничения максимальной частоты вращения; 5 – регулятор частоты вращения; 6 – рычаг управления регулятором; 7 – болт ограничения минимальной частоты вращения; 8 – скоба останова; 9 – топливоподкачивающий насос; 10 – болт регулировки пусковой подачи; 11 – корректор подачи топлива по наддуву.
А – положение рычага при минимальной частоте вращения холостого хода; Б – положение рычага при максимальной частоте вращения холостого хода; В – положение скобы при работе; Г – положение скобы при выключенной подаче
С ТНВД ЯМЗ-238 в одном агрегате объединены регулятор частоты вращения 5, топливоподкачивающий насос 9 и демпферная муфта 3.
Метки тнвд ямз 238
Установка ТНВД происходит по следующему алгоритму: 1. Ведомая полумуфта (рис. 1, 2) устанавливается на муфту опережения (демпферную муфту) и закрепляется болтами;
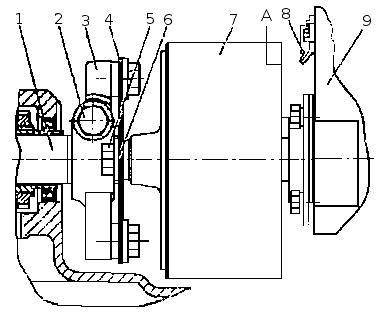
Рис. 1. Привод топливного насоса высокого давления двигателей ЯМЗ-238БЕ2 и ЯМЗ-238ДЕ2: 1 — ведущая полумуфта; 2 — болт клеммового соединения; 3 — фланец полумуфты; 4 — пластины привода; 5 — болты крепления пластин привода; 6 — шайбы; 7 — демпферная муфта; 8 — указатель; 9 — топливный насос высокого давления; А — метка на демпферной муфте.
Рис. 2. Привод топливного насоса высокого давления двигателей ЯМЗ-238БЕ и ЯМЗ-238ДЕ: 1 — вал привода; 2 — пластины привода; 3 — ведущая полумуфта; 4 — болты; 5 — болт клеммового соединения; 6 — болты; 7 — полумуфта ведомая; 8 — муфта опережения впрыскивания топлива; 9 — топливный насос высокого давления; А — метка на муфте; Б — метка на указателе.
2. Поворачиваем муфту так, чтобы бобышки ведомой полумуфты оказались горизонтально, а насечка на торце муфты встала в область указателя;
3. Далее нам понадобится фланец полумуфты привода ТНВД в сборе с ведущей полумуфтой и пакетами пластин на вал привода, при этом выступ «А» на фланце полумуфты будет располагаться слева, если взглянуть со стороны вентилятора на привод;
4. Далее на двигатель устанавливаем топливный насос высокого давления с демпферной муфтой в сборе, фиксируем болтами. Регулируем плоскость пакетов пластин с помощью движения фланца полумуфты по валу привода и только после этого закручиваем стяжной болт привода и устанавливаем угол опережения впрыскивания. Топливный насос должен быть установлен на блок цилиндров двигателя вертикально, при этом болты крепления нужно закручивать равномерно, без завала насоса. Последний момент затяжки болтов крепления насоса 30...40 Нм (3...4 кг/см). Соединяем отделы насоса с форсунками топливопроводами высокого давления в порядке, указанном на рис.3.
Рис. 3. Схема соединения топливопроводами высокого давления секций ТНВД и форсунок цилиндров двигателя.
5. Регулируем угол опережения впрыскивания топлива. Оцениваем количество масла в корпусах топливного насоса высокого давления и регулятора. В случае необходимости добавляем масла до уровня отверстия под трубку отвода масла. Стыкуем трубки провода и отвода масла с топливопроводами.
Запустив двигатель, регулируем минимальную частоту оборотов холостого хода коленчатого вала таким образом:
1. Ослабляем контргайку и выворачиваем корпус буферной пружины на 2-3 мм.
2. С помощью болта ограничения минимальной частоты вращения (рычаг управления упирается в данный болт) подрегулировать минимальную частоту вращения холостого хода до появления небольших вибраций частоты вращения коленчатого вала двигателя. Когда болт вкручивается, обороты двигателя возрастают, когда выкручиваются — сокращаются.
3. Ввинчиваем корпус буферной пружины до пропадания непостоянства частоты вращения. Строго запрещено ввинчивать корпус до совпадения его торца с торцом контргайки. Завершив регулирование необходимо закрепить болт минимальной частоты вращения и корпус буферной пружины гайками.
Минимальная частота вращения холостого хода также регулируется в новом моторе в самом начале его использования. Стоит отметить, что строго запрещено нарушать регулировку максимальных оборотов, произведенную на заводе-изготовителе, без дальнейшего контроля на стенде во время эксплуатации.
Двигатель ЯМЗ 238 считается легендой отечественного автомобилестроения. Больше чем, за полвека производства, силовой агрегат показал себя как надежный и легко ремонтируемый. За эти качества он и полюбился автомобилистам. Стоит отметить, что ЯМЗы, как 238, так и 236, часто шли на экспорт большими партиями. Например, Китай заказывает для своих большегрузных грузовиков именно двигатели этой серии, поскольку с ЯМЗом может соревноваться только БЕЛАЗ и Катерпиллер, но они стоят намного дороже отечественного аналога.
Почему Советский двигатель ЯМЗ-238 считался лучшим в СССР? - видео
Камаз 6х6. двигатель ЯМЗ 238 турбо - видео
Небольшой обзор двигателя ЯМЗ 238 Евро 3 - видео
Двигатель ЯМЗ-238 учебная разрезная модель в динамике - видео
Читайте также на сайте:















